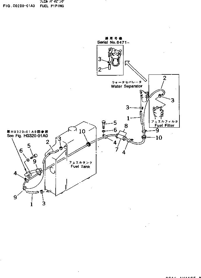
Запчасти Komatsu PC25-1 ТОПЛИВОПРОВОД. ТОПЛИВН. БАК. AND КОМПОНЕНТЫ

Схема запчастей Komatsu PC25-1 - ТОПЛИВОПРОВОД. ТОПЛИВН. БАК. AND КОМПОНЕНТЫ
FIT
1:1
100%

Артикул

Название

Примечание

Количество

1

07288-00721

HOSE

2

07288-00732

HOSE

2

07288-00731

HOSE

3

07285-00110

CLIP

4

195-01-14450

CLIP

5

01010-51020

BOLT

6

01643-31032

WASHER

7

203-62-41150

COVER

8

08034-00823

BAND

9

08034-00519

BAND

10

201-46-38220

GROMMET

Выбрано товаров: 11