Запчасти Komatsu PC25-1 ГИДРОЛИНИЯ (МОТОР ПОВОРОТА ЛИНИЯ) ГИДРАВЛИКА

Схема запчастей Komatsu PC25-1 - ГИДРОЛИНИЯ (МОТОР ПОВОРОТА ЛИНИЯ) ГИДРАВЛИКА
FIT
1:1
100%

Артикул

Название

Примечание

Количество

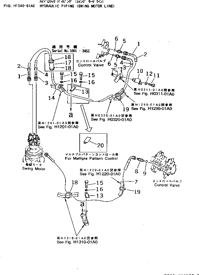
1

07123-00319

HOSE

2

203-62-58520

MARK, A1

3

07123-00320

HOSE

4

203-62-58530

MARK, A2

5

20T-62-56710

UNION

6

07002-11823

O-RING

7

20T-62-73540

HOSE

8

203-62-42510

NIPPLE

9

07002-02034

O-RING

10

20T-62-71570

CLAMP

11

01010-51030

BOLT

12

01643-31032

WASHER

13

20T-62-71530

PLATE

13

20T-62-71530

PLATE,(MULTI PATTERN)

14

155-61-15350

CLIP

15

01010-51020

BOLT

16

01643-31032

WASHER

17

203-62-41150

COVER

18

08034-00823

BAND

18

08034-00823

BAND

19

08034-00834

BAND

20

20T-62-76270

PLATE,(MULTI PATTERN)

Выбрано товаров: 22