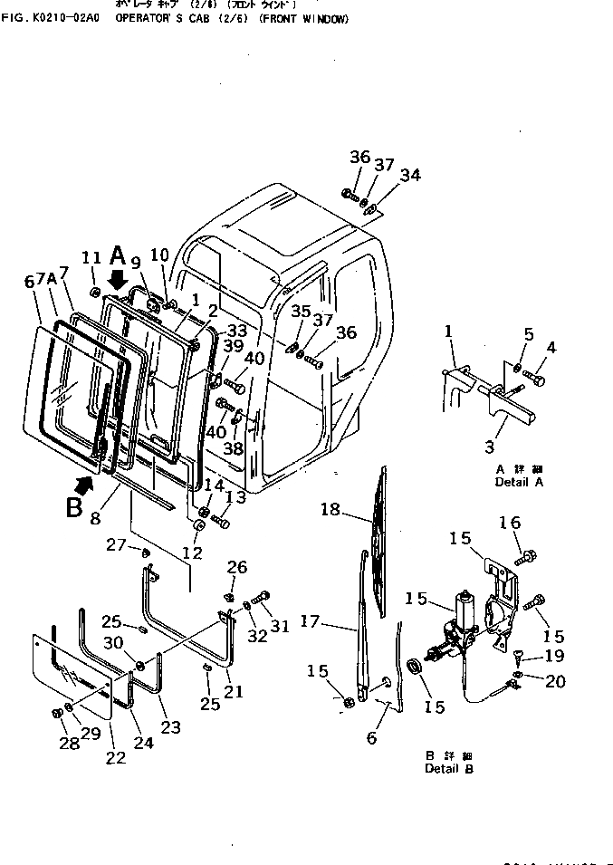
Запчасти Komatsu PC25-1 КАБИНА (/) (ПЕРЕДН. ОКНА) КАБИНА ОПЕРАТОРА И СИСТЕМА УПРАВЛЕНИЯ

Схема запчастей Komatsu PC25-1 - КАБИНА (/) (ПЕРЕДН. ОКНА) КАБИНА ОПЕРАТОРА И СИСТЕМА УПРАВЛЕНИЯ
FIT
1:1
100%

Артикул

Название

Примечание

Количество

|$0

20T-54-00761

CAB ASS'Y

|$1

20T-54-00760

CAB ASS'Y

1

20T-54-74121

FRAME

2

20T-54-75270

LATCH ASS'Y,L.H.

3

20T-54-75280

LATCH ASS'Y,R.H.

4

20Y-54-14750

BOLT

5

01643-70823

WASHER

6

20T-54-74161

GLASS

7

20T-54-74171

INSULATOR,RUBBER

7A

20T-54-75610

INSULATOR,ZIPPER

8

20T-54-74190

INSULATOR

9

20Y-54-14310

STRIKER

10

20Y-54-14280

SCREW

11

20T-54-74220

ROLLER, 18.0MM

12

20T-54-74230

ROLLER, 26.0MM

13

20Y-54-14290

STOPPER

14

20T-54-74550

NUT

15

20T-54-74970

WIPER MOTOR ASS'Y

16

20Y-54-14360

BOLT

17

20T-54-74980

ARM,WIPER

18

20T-54-74990

BLADE,WIPER

19

01370-00412

SCREW

20

01641-20405

WASHER

21

20T-54-74151

FRAME

22

20T-54-74240

GLASS

23

20T-54-74250

INSULATOR,RUBBER

24

20T-54-75620

INSULATOR,ZIPPER

25

20T-54-74260

INSULATOR

26

20T-54-74750

INSULATOR,L.H.

27

20T-54-74760

INSULATOR,R.H.

28

20T-54-74870

NUT

29

20T-54-74880

GROMMET

30

20T-54-74890

GROMMET

31

01225-70620

SCREW

32

20Y-54-14330

WASHER

33

20T-54-74341

INSULATOR

34

20T-54-74291

STOPPER,L.H.

35

20T-54-74321

STOPPER,R.H.

36

01220-70816

SCREW

37

01641-20812

WASHER

38

20T-54-74311

STOPPER,L.H.

39

20T-54-74331

STOPPER,R.H.

40

20Y-54-14280

SCREW

Выбрано товаров: 43