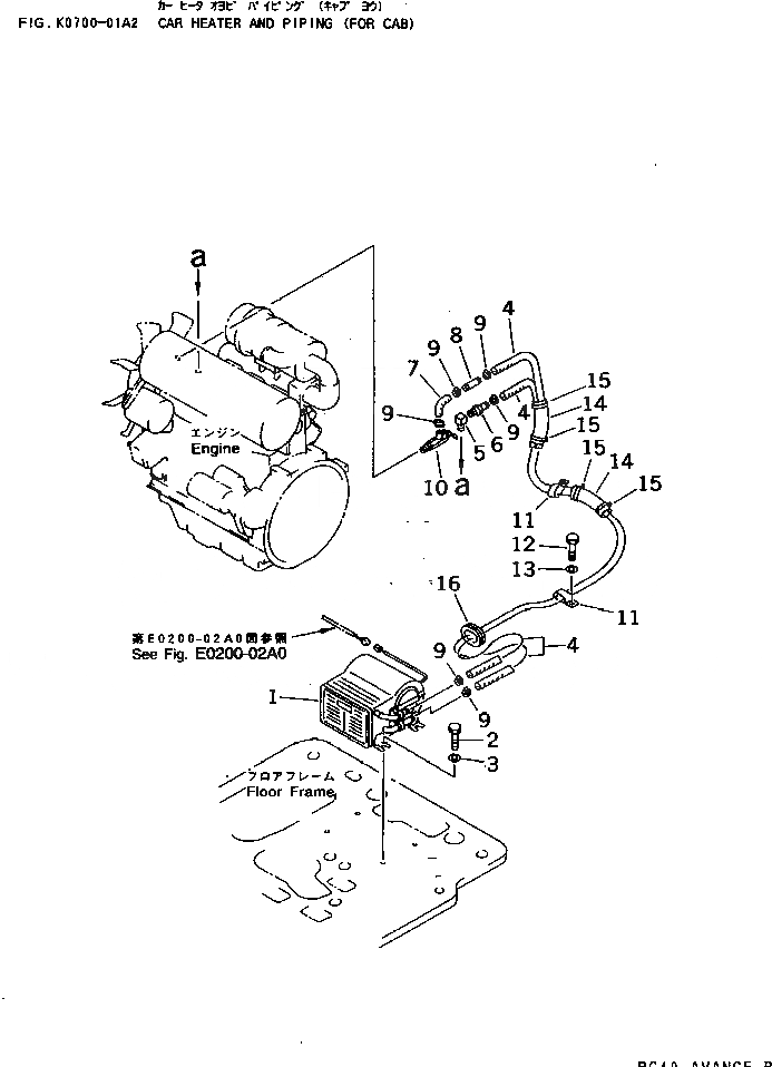
Запчасти Komatsu PC25-1 ОБОГРЕВАТЕЛЬ. И ТРУБЫ (ДЛЯ КАБИНЫ) КАБИНА ОПЕРАТОРА И СИСТЕМА УПРАВЛЕНИЯ

Схема запчастей Komatsu PC25-1 - ОБОГРЕВАТЕЛЬ. И ТРУБЫ (ДЛЯ КАБИНЫ) КАБИНА ОПЕРАТОРА И СИСТЕМА УПРАВЛЕНИЯ
FIT
1:1
100%

Артикул

Название

Примечание

Количество

1

20S-06-21460

HEATER ASS'Y

2

01010-51020

BOLT

3

01643-31032

WASHER

4

09483-00422

HOSE

5

154-865-1160

ELBOW

6

20T-54-42510

NIPPLE

7

09483-20450

HOSE

8

09484-00450

CONNECTOR

9

09480-10100

CLAMP

10

09482-50000

VALVE

10

203-977-4130

VALVE

11

176-911-4170

CLIP

12

01010-51020

BOLT

13

01643-31032

WASHER

14

203-62-41150

COVER

15

08034-00823

BAND

16

20T-54-71650

GROMMET

Выбрано товаров: 17