Запчасти Komatsu PC25-1 ЭЛЕКТРИКА (ЛИНИЯ ПАНЕЛИ ПРИБОРОВ)(№-7) ЭЛЕКТРИКА

Схема запчастей Komatsu PC25-1 - ЭЛЕКТРИКА (ЛИНИЯ ПАНЕЛИ ПРИБОРОВ)(№-7) ЭЛЕКТРИКА
FIT
1:1
100%

Артикул

Название

Примечание

Количество

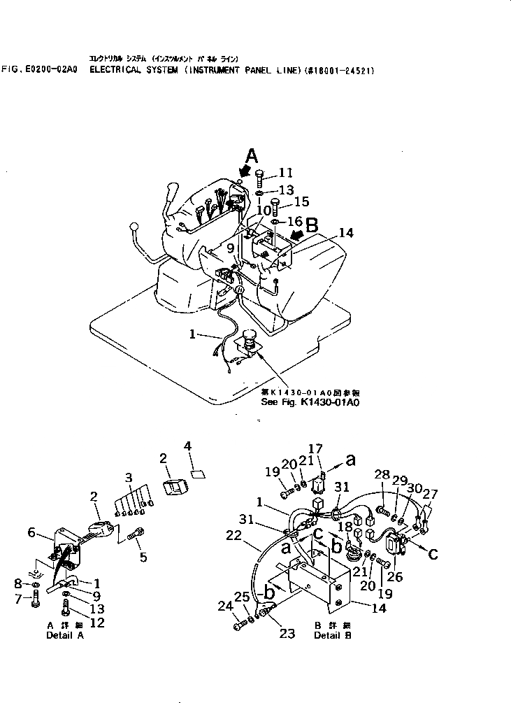
1

20T-06-71311

WIRING HARNESS

|1

08020-00000

DIODE

2

20T-06-71560

FUSE BOX

3

22W-06-13150

FUSE¤ 5A

|3

283-06-16190

FUSE¤ 10A

|3

22W-06-13160

FUSE¤ 20A

4

20T-06-71570

PLATE¤ NAME,FUSE

5

20T-54-71550

BOLT

6

20T-06-71341

BRACKET

7

01010-50816

BOLT

8

01643-30823

WASHER

9

08035-02510

CLIP

10

424-09-12550

CLIP

11

01010-51020

BOLT

12

01010-51025

BOLT

13

01643-31032

WASHER

14

20T-06-71331

BRACKET

15

01010-51020

BOLT

16

01643-31032

WASHER

17

21X-06-12310

RELAY ASS'Y,ENGINE STOP MOTOR

18

20T-06-71320

BUZZER

19

01220-40616

SCREW

20

01602-20619

WASHER,SPRING

21

01643-30623

WASHER

22

20T-06-71531

HARNESS

23

20T-06-71520

SWITCH,P.P.C. LOCK

24

6134-71-5750

SCREW

25

01641-20508

WASHER

26

20T-06-71650

RELAY,SAFETY

27

08038-00519

CAP

28

01220-40616

SCREW

29

01602-20619

WASHER,SPRING

30

01641-20608

WASHER

31

08034-00823

BAND

Выбрано товаров: 0