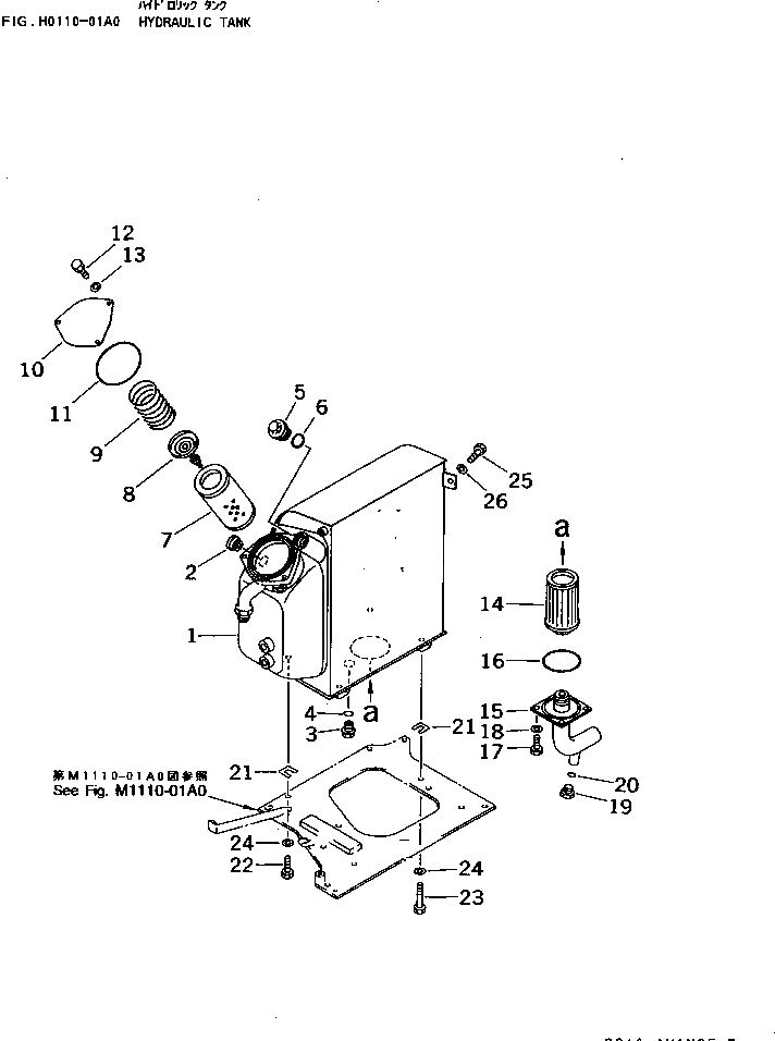
Запчасти Komatsu PC25-1 ГИДР. БАК. ГИДРАВЛИКА

Схема запчастей Komatsu PC25-1 - ГИДР. БАК. ГИДРАВЛИКА
FIT
1:1
100%

Артикул

Название

Примечание

Количество

1

20T-60-71111

TANK

2

20N-60-11142

GAUGE,OIL LEVEL

|2

20N-60-11141

GAUGE,OIL LEVEL

|2

20N-60-11181

GASKET,(NON ASBESTOS)

|2

20N-60-11180

GASKET

3

07044-12412

PLUG

4

07002-02434

O-RING

5

20T-60-71160

PLUG

6

07002-04234

O-RING

7

07063-01054

ELEMENT

8

201-60-62130

VALVE ASS'Y

9

20X-60-22140

SPRING

10

201-60-62150

COVER

11

07000-02135

O-RING

12

01010-51025

BOLT

13

01643-31032

WASHER

14

21E-60-11130

STRAINER

15

20T-60-71140

TUBE

16

07000-02110

O-RING

17

01010-51020

BOLT

18

01643-31032

WASHER

19

07040-12012

PLUG

20

07002-02034

O-RING

21

20R-04-21130

SHIM¤ 1.0MM

22

01010-51230

BOLT

23

01010-51245

BOLT

24

01643-31232

WASHER

25

01010-51020

BOLT

26

01643-31032

WASHER

Выбрано товаров: 29