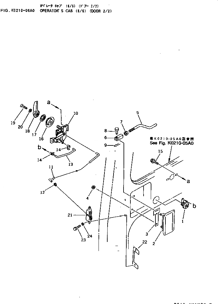
Запчасти Komatsu PC25-1 КАБИНА (/) (ДВЕРЬ /) КАБИНА ОПЕРАТОРА И СИСТЕМА УПРАВЛЕНИЯ

Схема запчастей Komatsu PC25-1 - КАБИНА (/) (ДВЕРЬ /) КАБИНА ОПЕРАТОРА И СИСТЕМА УПРАВЛЕНИЯ
FIT
1:1
100%

Артикул

Название

Примечание

Количество

|1

20T-54-00761

CAB ASS'Y

|1

20T-54-00760

CAB ASS'Y

|1

20T-54-00770

DOOR ASS'Y

1

205-54-71642

LOCK ASS'Y

2

205-54-72102

HANDLE ASS'Y

3

20T-54-75550

PLATE

4

01580-00605

NUT

5

20T-54-74460

ROD

6

04211-20634

YOKE

7

01580-00605

NUT

8

04205-10620

PIN

9

04052-00633

PIN,SNAP

10

20Y-54-13861

REMOTE CONTROL A.

11

20T-54-74471

ROD

12

205-54-71840

SNAP

13

20T-54-74480

ROD

14

205-54-71830

SNAP

15

01435-00616

BOLT

16

566-54-24260

BASE

17

566-54-24270

ESCUTCHEON

18

20Y-54-13390

HANDLE

19

01225-70510

SCREW

20

205-54-71880

WASHER,LOCK

21

20Y-54-14520

LOCK ASS'Y

22

20T-54-75530

PLATE

23

01010-50616

BOLT

24

01643-30623

WASHER

Выбрано товаров: 27