Запчасти Komatsu PC250LC-6 КОВШ¤ .M (CECE .9M)¤ MM (ГОРИЗОНТАЛЬН. ПАЛЕЦ) (С РЕГУЛЯТОРОМ) РАБОЧЕЕ ОБОРУДОВАНИЕ

Схема запчастей Komatsu PC250LC-6 - КОВШ¤ .M (CECE .9M)¤ MM (ГОРИЗОНТАЛЬН. ПАЛЕЦ)     (С РЕГУЛЯТОРОМ) РАБОЧЕЕ ОБОРУДОВАНИЕ
FIT
1:1
100%

Артикул

Название

Примечание

Количество

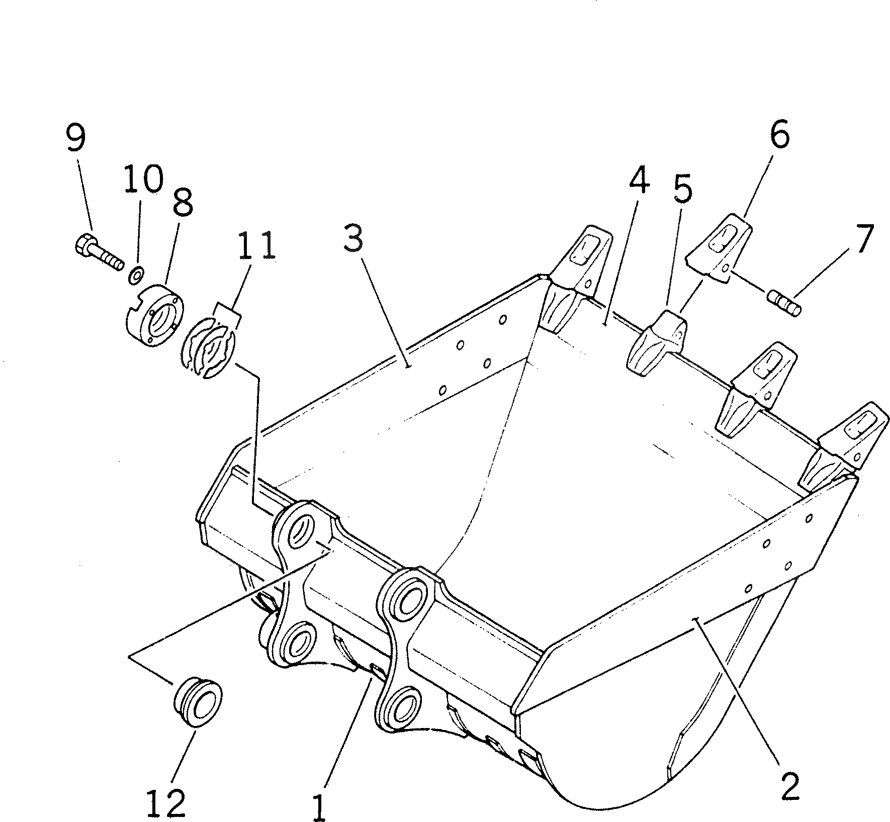
1

206-70-58511

BUCKET

2

206-70-58122

PLATE,L.H.

2

206-70-58121

PLATE,L.H.

3

206-70-58132

PLATE,R.H.

3

206-70-58131

PLATE,R.H.

4

206-70-58143

PLATE

5

206-70-58520

ADAPTER

6

206-70-48610

TOOTH

7

09244-02516

PIN

8

205-70-74391

PLATE

9

01010-62055

BOLT

10

01643-32060

WASHER

11

205-70-00100

SHIM ASS'Y

11

SHIM, 1.0MM

11

SHIM, 0.5MM

12

205-70-74381

SPACER

Выбрано товаров: 16