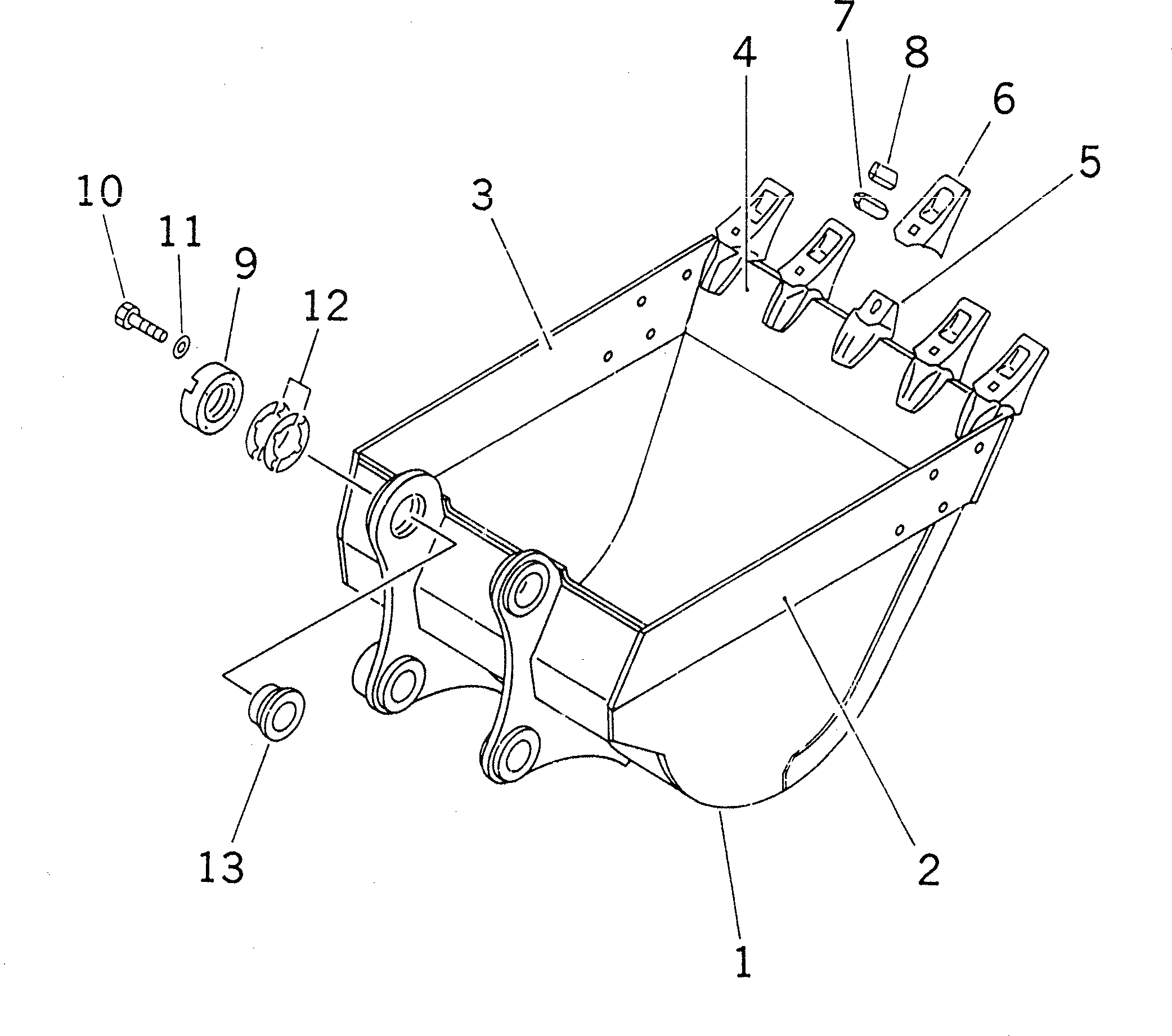
Запчасти Komatsu PC250LC-6 КОВШ¤ .7M (CECE .M)¤ MM (ВЕРТИКАЛЬН. ПАЛЕЦ) (С РЕГУЛЯТОРОМ) РАБОЧЕЕ ОБОРУДОВАНИЕ

Схема запчастей Komatsu PC250LC-6 - КОВШ¤ .7M (CECE .M)¤ MM (ВЕРТИКАЛЬН. ПАЛЕЦ)     (С РЕГУЛЯТОРОМ) РАБОЧЕЕ ОБОРУДОВАНИЕ
FIT
1:1
100%

Артикул

Название

Примечание

Количество

1

206-920-6111

BUCKET

2

206-70-58122

PLATE,L.H.

2

206-70-58121

PLATE,L.H.

3

206-70-58132

PLATE,R.H.

3

206-70-58131

PLATE,R.H.

4

206-920-6121

PLATE

5

206-70-58150

ADAPTER

6

206-70-54221

TOOTH

7

207-70-34221

PIN

8

205-70-74291

LOCK

9

205-70-74391

PLATE

10

01010-62055

BOLT

11

01643-32060

WASHER

12

205-70-00100

SHIM ASS'Y

12

SHIM, 1.0MM

12

SHIM, 0.5MM

13

205-70-74381

SPACER

Выбрано товаров: 17