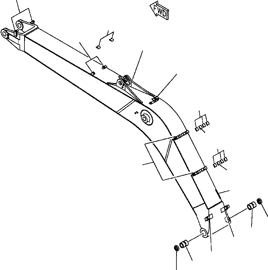
Запчасти Komatsu PC250LC-6L FIG NO. T- СТРЕЛА РАБОЧЕЕ ОБОРУДОВАНИЕ

Схема запчастей Komatsu PC250LC-6L - FIG NO. T- СТРЕЛА РАБОЧЕЕ ОБОРУДОВАНИЕ
7
9
6
1
5
9
10
9
4
10
8
12
11
3
2
11
12
FIT
1:1
100%

Артикул

Название

Примечание

Количество

|$0

206-70-00241

BOOM ASSEMBLY

1

NSS

BOOM

2

20Y-62-24180

.BRACKET

3

20Y-62-24190

.BRACKET

4

20Y-62-24211

.BRACKET

5

206-62-64250

.BRACKET

6

206-62-52281

.BRACKET

7

20Y-70-11641

.BRACKET

8

20Y-70-11650

.SEAT

9

20Y-62-13760

.SEAT

10

205-62-73430

.SEAT

11

206-70-55240

BUSHING

12

07145-00100

SEAL, DUST

|$15

206-70-61191

BUSHING

Выбрано товаров: 14