Качественные детали и логистика
Оригинальные и аналоговые запчасти с доставкой по России, Казахстану и Беларуси
©2022 PartSell ООО "Система" ИНН 2463123282 ОГРН 1212400004838
Центральный офис: г. Красноярск, Академика Киренского, д.87, пом.4
Телефон: 8 (800) 777-65-74 Email: zakaz@partsell.ru
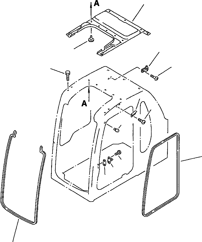
FIG NO. K- КАБИНА (ВНУТР. ПОКРЫТИЕ)
№
Артикул
Название
Примечание
Количество
1
20Y-54-35311
COVER, INSIDE, OPERATOR'S CAB
2
20Y-54-18690
RIVET
3
205-54-51250
HANGER
4
01370-00412
SCREW
5
20Y-54-35491
TRIM
6
20Y-54-35290
STAY
7
01023-10612
8
01435-30816
BOLT
9
20Y-54-35380
10
20Y-54-35470
STRIKER
11
20Y-54-35480
SHIM
12
01240-01025
13
20Y-54-35780
STOPPER
Выбрано товаров: 0