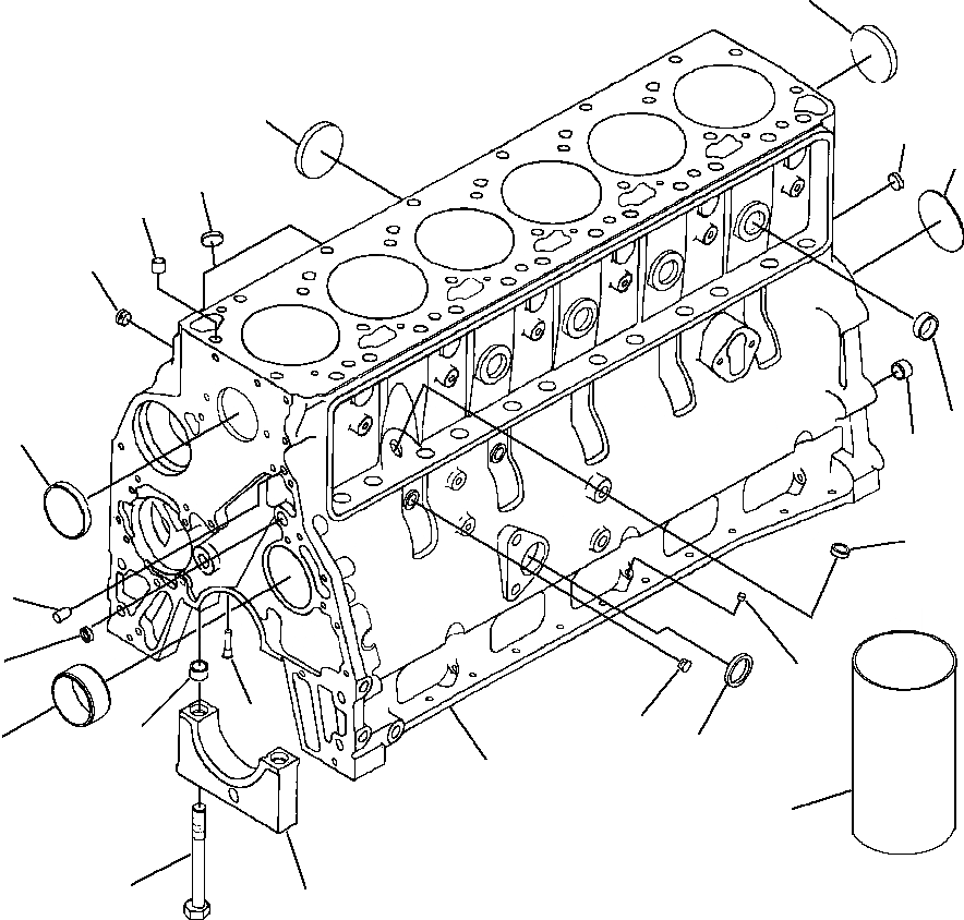
Запчасти Komatsu PC250LC-6LE FIG NO. A-AA БЛОК ЦИЛИНДРОВ ШАССИ SERIAL NUMBER A8-A87 ДВИГАТЕЛЬ

Схема запчастей Komatsu PC250LC-6LE - FIG NO. A-AA БЛОК ЦИЛИНДРОВ ШАССИ SERIAL NUMBER A8-A87 ДВИГАТЕЛЬ
5
5
7
11
15
9
13
6
5
16
7
12
7
17
10
14
8
2
18
1
19
3
4
FIT
1:1
100%

Артикул

Название

Примечание

Количество

|$0

6731-21-1320

CYLINDER BLOCK ASSEMBLY

1

NSS

BLOCK, CYLINDER

2

6732-21-1410

BUSHING

3

6732-21-1610

BOLT - M14-2.00 X 119

4

6731-21-1260

CAP, MAIN BEARING

5

6736-21-1810

PLUG, EXPANSION - 58.6 MM

6

6736-21-1820

PLUG, EXPANSION - 1.00 IN

7

6732-21-1810

PLUG, EXPANSION - 17.73 MM

8

6732-21-1910

DOWEL, RING - M8-10

|$9

6736-21-1090

KIT, BLOCK HARDWARE

9

6732-21-6140

DOWEL, RING - M16-10

10

6731-21-1190

NOZZLE, PISTON COOLING

11

6732-21-6130

PLUG, EXPANSION

12

6732-21-6120

DOWEL, PIN - M10-16

13

6732-11-1910

PLUG, PIPE - 1/2 NPT

14

6732-21-1930

PLUG, PIPE - 1/8 NPT

15

6736-21-1830

PLUG, EXPANSION - MACHINES WITHOUT TURBOCHARGER

16

6732-21-1910

DOWEL, RING - M18-10

17

6732-21-5530

PLUG, EXPANSION

18

6732-21-6160

PLUG, EXPANSION - MACHINES WITHOUT SIDE OIL

2

6736-29-1410

BUSHING, OVERSIZE - NO. 1 BORE

2

6736-29-1420

BUSHING, OVERSIZE - NO. 2 THRU 5 BORE

4

6731-21-1260

CAP, BEARING MAIN

19

6736-29-2110

SLEEVE, SALVAGE - STANDARD BORE

Выбрано товаров: 24