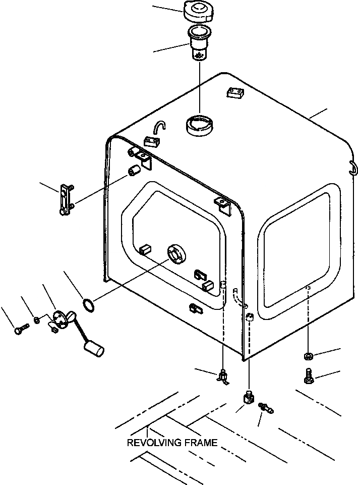
Запчасти Komatsu PC250LC-6LE FIG NO. D-A ТОПЛИВН. БАК. ТОПЛИВН. БАК. AND КОМПОНЕНТЫ

Схема запчастей Komatsu PC250LC-6LE - FIG NO. D-A ТОПЛИВН. БАК. ТОПЛИВН. БАК. AND КОМПОНЕНТЫ
4
9
1
2
6
5
8
7
13
3
12
10
11
FIT
1:1
100%

Артикул

Название

Примечание

Количество

1

20Y-04-21430

TANK

2

2OY-04-21220

GAUGE

3

07700-50240

VALVE

4

20Y-04-11160

CAP

|$4

20Y-04-11240

PACKING

5

7861-92-5810

SENSOR

6

07000-13050

O-RING

7

01010-80612

BOLT

8

01643-30623

WASHER

9

205-04-71140

STRAINER

10

209-04-13130

ELBOW

11

140-99-99360

NIPPLE

12

01010-81635

BOLT

13

01643-31645

WASHER

Выбрано товаров: 14