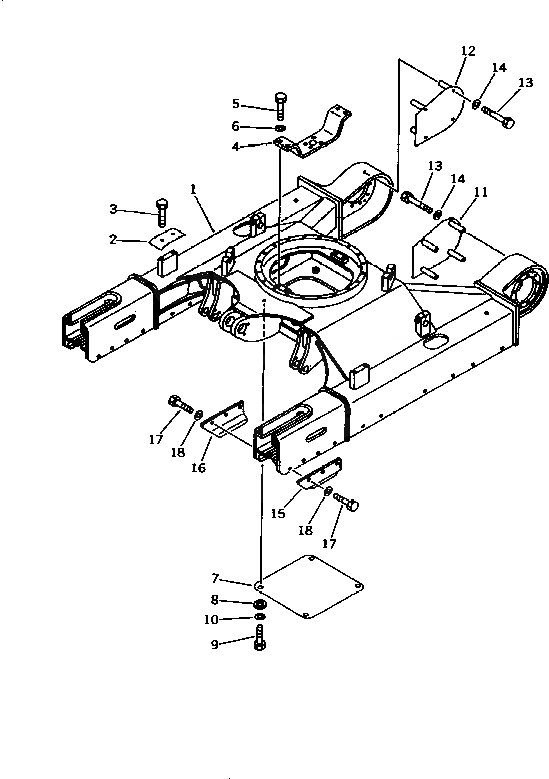
Запчасти Komatsu PC25R-1 ГУСЕНИЧНАЯ РАМА (ДЛЯ MM ШИР. STEEL SHOE) ХОДОВАЯ

Схема запчастей Komatsu PC25R-1 - ГУСЕНИЧНАЯ РАМА (ДЛЯ MM ШИР. STEEL SHOE) ХОДОВАЯ
FIT
1:1
100%

Артикул

Название

Примечание

Количество

1

20S-30-71612

FRAME,TRACK

|1

20S-30-71611

FRAME,TRACK

|1

20S-30-71610

FRAME,TRACK

2

20S-30-31190

PLATE

3

01010-51220

BOLT

4

20T-30-71411

BRACKET

5

01010-51235

BOLT

6

01643-31232

WASHER

7

20T-30-71231

COVER

8

103-54-21160

COLLAR

9

01010-51030

BOLT

10

01643-31032

WASHER

11

20S-30-71211

COVER,L.H.

12

20S-30-71221

COVER,R.H.

13

01011-51010

BOLT

14

01643-31032

WASHER

15

20S-30-31212

GUARD,L.H.

16

20S-30-31222

GUARD,R.H.

17

01010-51435

BOLT

18

01643-31445

WASHER

Выбрано товаров: 20