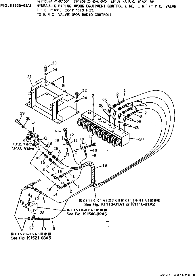
Запчасти Komatsu PC25R-1 ГИДРОЛИНИЯ (РАБОЧЕЕ ОБОРУДОВАНИЕ УПРАВЛ-Е ЛИНИЯ¤ ЛЕВ.)(P.P.C. КЛАПАНTO E.P.C. КЛАПАН)(ДЛЯ РАДИО УПРАВЛ-Е) КАБИНА ОПЕРАТОРА И СИСТЕМА УПРАВЛЕНИЯ

Схема запчастей Komatsu PC25R-1 - ГИДРОЛИНИЯ (РАБОЧЕЕ ОБОРУДОВАНИЕ УПРАВЛ-Е ЛИНИЯ¤ ЛЕВ.)(P.P.C. КЛАПАНTO E.P.C. КЛАПАН)(ДЛЯ РАДИО УПРАВЛ-Е) КАБИНА ОПЕРАТОРА И СИСТЕМА УПРАВЛЕНИЯ
FIT
1:1
100%

Артикул

Название

Примечание

Количество

1

20T-62-78130

HOSE

2

20T-62-71750

MARK¤ 5

3

20T-62-78140

HOSE

4

20T-62-71760

MARK¤ 6

5

20T-62-78140

HOSE

6

20T-62-71770

MARK¤ 7

7

20T-62-78140

HOSE

8

20T-62-71780

MARK¤ 8

9

20T-62-77791

HOSE

10

203-62-58170

MARK¤ P2

11

20T-62-77811

HOSE

12

203-62-58220

MARK¤ T2

13

20T-62-78260

COVER

14

07236-10210

ELBOW

15

07230-20210

UNION

16

07002-01423

O-RING

17

702-16-53240

PLUG,(WITH FILTER)

18

203-62-57730

BOLT,EYE

19

07000-02018

O-RING

20

20T-60-77910

VALVE ASS'Y,(E.P.C.)

21

20T-62-77930

BRACKET

22

01010-51030

BOLT

23

01010-51020

BOLT

24

01643-31032

WASHER

25

07235-10210

ELBOW

26

07002-01423

O-RING

27

208-26-11611

TEE

28

07002-01423

O-RING

29

01010-50820

BOLT

30

01643-30823

WASHER

Выбрано товаров: 30