Запчасти Komatsu PC25R-1 ГИДРОЛИНИЯ (СОЛЕНОИДНЫЙ КЛАПАН ЛИНИЯ) (ДЛЯ РАДИО УПРАВЛ-Е) КАБИНА ОПЕРАТОРА И СИСТЕМА УПРАВЛЕНИЯ

Схема запчастей Komatsu PC25R-1 - ГИДРОЛИНИЯ (СОЛЕНОИДНЫЙ КЛАПАН ЛИНИЯ) (ДЛЯ РАДИО УПРАВЛ-Е) КАБИНА ОПЕРАТОРА И СИСТЕМА УПРАВЛЕНИЯ
FIT
1:1
100%

Артикул

Название

Примечание

Количество

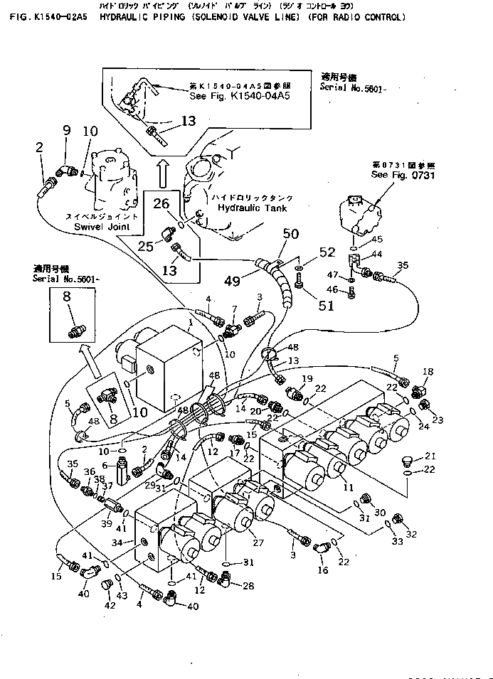
1

20T-60-72221

SOLENOID VALVE ASS'Y,(SEE FIG.H1840-51A0)

2

20T-62-74210

HOSE

3

07102-20206

HOSE

4

07102-20205

HOSE

5

07102-20307

HOSE

6

20Y-970-1741

ELBOW

7

208-62-17550

TEE

8

205-62-55270

NIPPLE

|8

203-62-58410

TEE

9

20Y-970-1731

ELBOW

10

07002-01423

O-RING

11

20T-60-77921

SOLENOID VALVE ASS'Y,(FOR TRAVEL)

12

21K-62-21570

HOSE

13

07102-20313

HOSE

14

07102-20205

HOSE

15

07102-20206

HOSE

16

07235-10210

ELBOW

17

07236-10210

ELBOW

18

207-62-33920

ELBOW

19

22X-61-18550

ELBOW

20

07230-20210

UNION

21

07040-11409

PLUG

22

07002-01423

O-RING

23

07040-11007

PLUG

24

07002-01023

O-RING

25

07235-10315

ELBOW

26

07002-02034

O-RING

27

20T-60-77931

SOLENOID VALVE ASS'Y,(FOR BLADE)

28

07235-10210

ELBOW

29

07236-10210

ELBOW

30

07040-11409

PLUG

31

07002-01423

O-RING

32

07040-11007

PLUG

33

07002-01023

O-RING

34

20T-60-77940

SOLENOID VALVE ASS'Y,(FOR E.P.C. AND BREAKER)

35

07102-20217

HOSE

36

20T-62-71920

UNION

37

20T-62-71910

STRAINER

38

07002-01823

O-RING

39

20T-62-71930

UNION

40

07235-10210

ELBOW

41

07002-01423

O-RING

42

07040-11007

PLUG

43

07002-01023

O-RING

44

20T-62-71250

TUBE

45

07000-02021

O-RING

46

01010-50635

BOLT

47

01602-20619

WASHER,SPRING

48

08034-00823

BAND

49

203-62-32440

COVER

50

281-01-13180

CLIP

51

01010-51020

BOLT

52

01643-31032

WASHER

Выбрано товаров: 53