Запчасти Komatsu PC270-8 РУКОЯТЬ (.M) ( ЧАС. СИСТ. СМАЗКИ ТИП) (ДЛЯ -АКТУАТОР) РАБОЧЕЕ ОБОРУДОВАНИЕ

Схема запчастей Komatsu PC270-8 - РУКОЯТЬ (.M) ( ЧАС. СИСТ. СМАЗКИ ТИП) (ДЛЯ -АКТУАТОР) РАБОЧЕЕ ОБОРУДОВАНИЕ
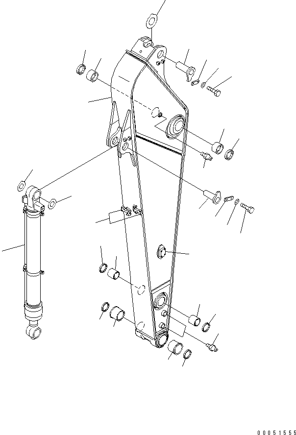
1
2
3
4
4
5
5
6
6
7
7
8
8
9
9
9
9
10
11
12
13
14
15
16
17
18
19
20
21
FIT
1:1
100%

Артикул

Название

Примечание

Количество

|$4

206-70-00860

ARM ASS'Y

1

ARM

2

20Y-70-42E51

PLATE (WELDED)

3

20Y-970-3572

BRACKET (WELDED)

4

205-70-72180

BUSHING

5

20Y-70-32410

BUSHING

6

21K-70-12161

BUSHING

7

07020-00000

FITTING

8

07145-00090

SEAL

9

20Y-70-23230

SEAL

10

206-70-22230

PIN

11

205-70-66581

PLATE

12

01010-81230

BOLT

13

01643-31232

WASHER

14

205-70-51530

SPACER, 1.5MM

15

206-70-22240

PIN

16

205-70-66581

PLATE

17

01010-81230

BOLT

18

01643-31232

WASHER

19

20Y-70-11340

SPACER, 0.8MM

20

205-70-51530

SPACER, 1.5MM

21

707-01-XR910

CYLINDER GROUP

Выбрано товаров: 22