Запчасти Komatsu PC270-8 ГИДРАВЛ МАСЛ. БАК (С РУКОЯТЬ И КЛАПАН ПЕРЕГРУЗКИ СТРЕЛЫ) (БАК)(№-) ГИДРАВЛИКА

Схема запчастей Komatsu PC270-8 - ГИДРАВЛ МАСЛ. БАК (С РУКОЯТЬ И КЛАПАН ПЕРЕГРУЗКИ СТРЕЛЫ) (БАК)(№-) ГИДРАВЛИКА
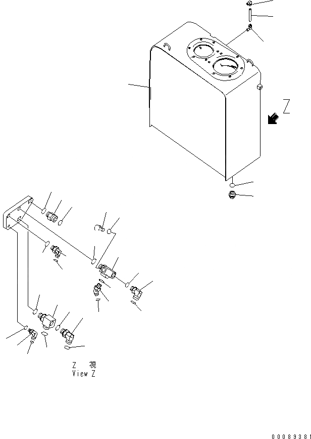
1
2
2
3
4
5
6
7
8
9
10
11
12
13
14
15
16
17
18
19
20
21
22
23
24
25
26
27
28
29
30
FIT
1:1
100%

Артикул

Название

Примечание

Количество

1

20Y-60-41113

TANK

1

20Y-60-41112

TANK

2

203-60-31100

ELBOW ASS'Y

3

203-60-31160

TUBE

4

07044-12412

PLUG

5

07002-12434

O-RING

6

02781-00628

UNION

7

02896-11018

O-RING

8

07002-12434

O-RING

9

02782-10522

ELBOW

10

02896-11015

O-RING

11

07002-12434

O-RING

12

02782-10315

ELBOW

13

02896-11009

O-RING

14

07002-12034

O-RING

15

02782-10311

ELBOW

16

02896-11009

O-RING

17

07002-11423

O-RING

18

21K-62-72491

TEE

19

02896-11018

O-RING

20

07002-12434

O-RING

21

20Y-62-15660

ADAPTER

22

07002-12034

O-RING

23

02782-10516

ELBOW

24

02896-11015

O-RING

25

07002-12034

O-RING

26

02783-10315

ELBOW

27

02896-11009

O-RING

28

07002-12034

O-RING

29

07040-12012

PLUG

30

07002-12034

O-RING

Выбрано товаров: 0