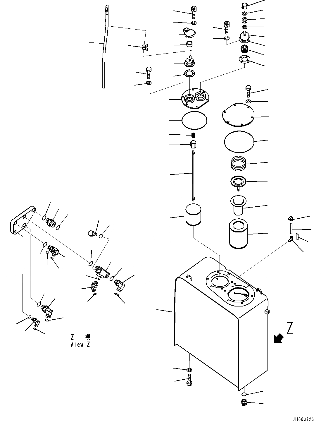
Запчасти Komatsu PC270-8 ГИДР. БАК. (№7-) ГИДР. БАК., -ДОПОЛН. АКТУАТОР ТРУБЫ, АККУМУЛЯТОР, С СТРЕЛА ANTI-DROP КЛАПАН

Схема запчастей Komatsu PC270-8 - ГИДР. БАК. (№7-) ГИДР. БАК., -ДОПОЛН. АКТУАТОР ТРУБЫ, АККУМУЛЯТОР, С СТРЕЛА ANTI-DROP КЛАПАН
41
43
44
46
52
49
45
50
47
48
51
62
42
40
39
38
37
36
35
34
33
32
31
30
29
3
2
2
64
63
5
4
1
22
26
21
23
19
24
25
20
9
11
6
8
7
10
16
17
18
28
27
14
15
12
13
60
61
58
59
53
55
56
54
57
54
FIT
1:1
100%

Артикул

Название

Примечание

Количество

1

20Y-60-41113

Tank

2

203-60-31100

Elbow Assembly

3

203-60-31160

Tube

4

07044-12412

Plug

5

07002-12434

O-ring

6

02781-00628

Union

7

02896-11018

O-ring

8

07002-12434

O-ring

9

02782-10522

Elbow

10

02896-11015

O-ring

11

07002-12434

O-ring

12

20Y-62-45690

Tee

13

02896-11009

O-ring

14

02896-11008

O-ring

15

07002-12034

O-ring

16

02782-10311

Elbow

17

02896-11009

O-ring

18

07002-11423

O-ring

19

20Y-62-15660

Adapter

20

07002-12034

O-ring

21

02782-10516

Elbow

22

02896-11015

O-ring

23

07002-12034

O-ring

24

02783-10315

Elbow

25

02896-11009

O-ring

26

07002-12034

O-ring

27

07040-12012

Plug

28

07002-12034

O-ring

29

207-60-71182

Element, Hydraulic Oil Filter

30

20Y-60-31140

Strainer

31

20Y-60-31131

Valve Assembly

32

20Y-60-21240

Spring

33

22U-60-21232

Cover

34

07000-15195

O-ring

35

01010-81230

Bolt

36

01643-31232

Washer

|$36

20Y-60-31171

Strainer Assembly

37

207-60-61150

Rod Assembly

38

20Y-60-21320

Holder

39

12R-60-11230

Spring

40

22B-60-11160

Strainer

41

20Y-60-41212

Cover

42

07000-15160

O-ring

43

01010-81230

Bolt

44

01643-31232

Washer

45

17A-60-11310

Cap Assembly

46

20Y-60-21470

Element

47

208-60-71180

Filler Neck

48

20Y-60-21340

Gasket

49

01252-70516

Bolt

50

01601-20513

Washer

51

07285-00155

Clip

52

206-60-41240

Tube

|$53

20Y-60-31271

Breather Assembly

53

207-60-51311

Element

54

207-60-51320

Seal

55

Body

56

Cover

57

Nut

58

Nut

59

Packing

60

01252-70516

Bolt

61

01601-20513

Washer

62

205-00-73360

Plate, Operating

63

01010-81635

Bolt

64

01643-31645

Washer

Выбрано товаров: 66