Качественные детали и логистика
Оригинальные и аналоговые запчасти с доставкой по России, Казахстану и Беларуси
©2022 PartSell ООО "Система" ИНН 2463123282 ОГРН 1212400004838
Центральный офис: г. Красноярск, Академика Киренского, д.87, пом.4
Телефон: 8 (800) 777-65-74 Email: zakaz@partsell.ru
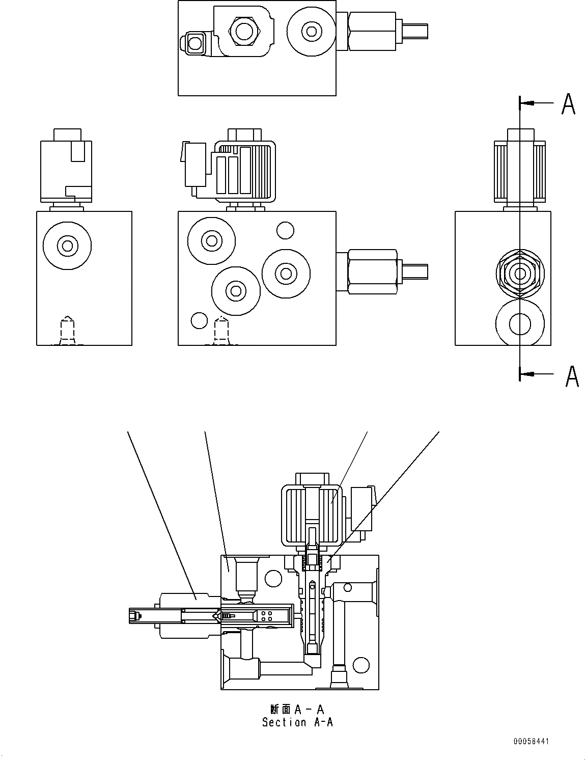
БЫСТРОСЪЕМН. МЕХ-М ТРУБЫ, ВНУТР. ЧАСТИ, БЫСТРОСЪЕМН. МЕХ-М КЛАПАН (№7-)
№
Артикул
Название
Примечание
Количество
|$0
20J-62-13141
Valve
1
20J-06-11640
Coil
2
20J-60-11590
3
20J-60-11580
Valve, Pressure Reducing
4
20J-60-11570
Block
Выбрано товаров: 0