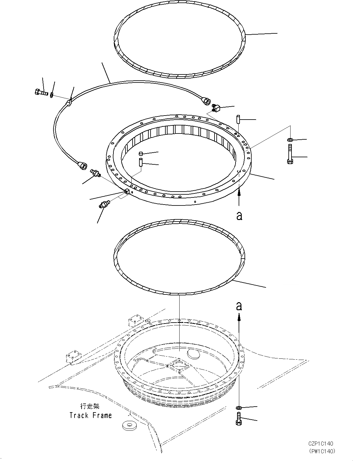
Запчасти Komatsu PC270-8 ПОВОРОТН. КРУГ N [ПОВОРОТН. КРУГ И ITS КОМПОНЕНТЫ]

Схема запчастей Komatsu PC270-8 - ПОВОРОТН. КРУГ N [ПОВОРОТН. КРУГ И ITS КОМПОНЕНТЫ]
1
2
4
5
6
10
15
16
9
7
6
13
14
12
8
11
3
2
FIT
1:1
100%

Артикул

Название

Примечание

Количество

1

206-25-00400

SWING CIRCLE ASSEMBLY

2

207-25-61160

SEAL

3

205-25-71280

NIPPLE

4

207-25-31180

BOLT

5

01643-72460

WASHER

6

04020-01842

PIN, DOWEL

7

20Y-46-21520

CAP

8

207-25-62110

TUBE

9

20Y-25-11270

ELBOW

10

07020-00000

FITTING, GREASE

11

07214-50813

CONNECTOR

12

08036-00814

CLIP

13

01010-81020

BOLT

14

01643-31032

WASHER

15

208-25-31160

BOLT

16

01643-72460

WASHER

Выбрано товаров: 16