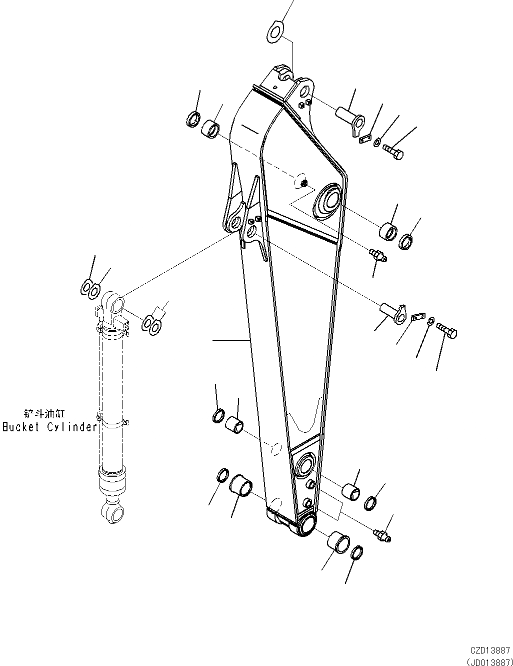
Запчасти Komatsu PC270-8 РУКОЯТЬ (MM, КОРОТК. РУКОЯТЬ) (РУКОЯТЬ И ПАЛЕЦ) T [РАБОЧЕЕ ОБОРУДОВАНИЕ]

Схема запчастей Komatsu PC270-8 - РУКОЯТЬ (MM, КОРОТК. РУКОЯТЬ) (РУКОЯТЬ И ПАЛЕЦ) T [РАБОЧЕЕ ОБОРУДОВАНИЕ]
10
8
6
2
9
12
11
2
6
16
15
5
16
1
13
14
18
7
17
4
4
7
5
7
3
3
7
FIT
1:1
100%

Артикул

Название

Примечание

Количество

1

206-944-D330

ARM

2

205-70-72180

BUSHING

3

20Y-70-32410

BUSHING

4

21K-70-12161

BUSHING

5

07020-00000

FITTING

6

07145-00090

GASKET

7

20Y-70-23230

SEAL

8

206-70-71341

PIN

9

205-70-66581

PLATE

10

205-70-51530

SPACER

11

01010-81230

BOLT

12

01643-31232

WASHER

13

206-70-71351

PIN

14

205-70-66581

PLATE

15

20Y-70-11340

SPACER

16

205-70-51530

SPACER

17

01010-81230

BOLT

18

01643-31232

WASHER

Выбрано товаров: 18