Запчасти Komatsu PC270-8 КОВШ .M,MM(ГОРИЗОНТАЛЬН. ПАЛЕЦ)(NARROW ШИР. ROCK BUCKE) T [РАБОЧЕЕ ОБОРУДОВАНИЕ]

Схема запчастей Komatsu PC270-8 - КОВШ .M,MM(ГОРИЗОНТАЛЬН. ПАЛЕЦ)(NARROW ШИР. ROCK BUCKE) T [РАБОЧЕЕ ОБОРУДОВАНИЕ]
FIT
1:1
100%

Артикул

Название

Примечание

Количество

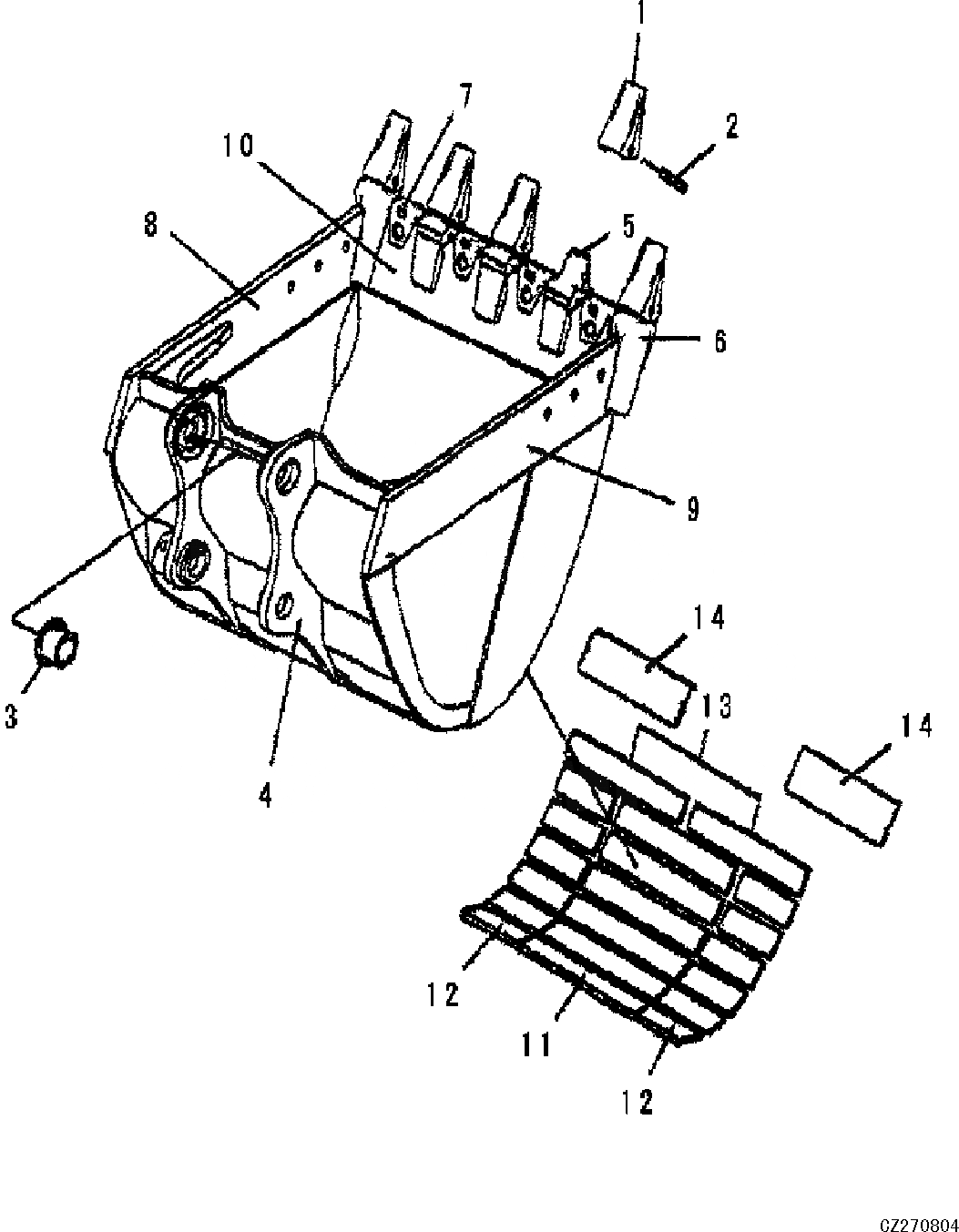
1

207-70-14151

TOOTH

2

09244-02516

PIN

3

20Y-70-32420

BUSHING

4

206-934-D502

BUCKET

5

207-934-7120

ADAPTER

6

207-934-7181

ADAPTER

7

208-934-5170

SHROUD

8

207-934-DS10

PLATE

9

207-934-DS60

PLATE

10

206-934-D5D0

PLATE

11

207-934-DT30

PLATE

12

206-934-D5C0

PLATE

13

206-934-D5B0

PLATE

14

206-934-D5A0

PLATE

Выбрано товаров: 14