Качественные детали и логистика
Оригинальные и аналоговые запчасти с доставкой по России, Казахстану и Беларуси
©2022 PartSell ООО "Система" ИНН 2463123282 ОГРН 1212400004838
Центральный офис: г. Красноярск, Академика Киренского, д.87, пом.4
Телефон: 8 (800) 777-65-74 Email: zakaz@partsell.ru
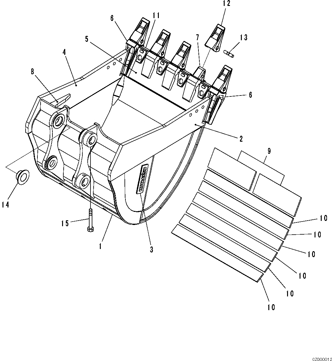
КОВШ,.M,ME КОВШ
№
Артикул
Название
Примечание
Количество
1
77B-934-5B20
BUCKET G.
2
77B-934-5320
PLATE(L.H)
3
775-920-4910
PLATE
4
77B-934-5370
PLATE(R.H)
5
77B-934-5450
6
207-934-7181
ADAPTER
7
207-934-7120
8
207-934-DT10
9
77B-934-5290
10
77B-934-5410
11
208-934-5170
SHROUD
12
775-934-6130
TOOTH (KPAC NO.775HL300TR
13
20Y-70-D1400
PIN
14
20Y-70-32420
BUSHING
15
20Y-70-32450
BOLT
Выбрано товаров: 0