Запчасти Komatsu PC270-8 ГИДР. БАК. H [ГИДРАВЛИКА]

Схема запчастей Komatsu PC270-8 - ГИДР. БАК. H [ГИДРАВЛИКА]
48
49
39
47
50
34
37
40
43
38
41
35
32
36
44
24
33
25
30
22
31
28
23
27
21
8
6
26
20
7
14
19
12
2
29
3
18
13
14
42
12
13
11
2
9
10
17
16
15
1
46
45
5
4
FIT
1:1
100%

Артикул

Название

Примечание

Количество

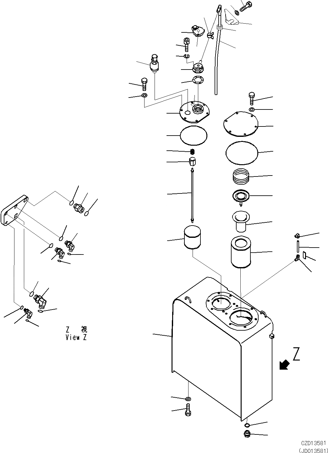
1

20Y-60-42111

TANK

2

203-60-31100

ELBOW ASS'Y

3

203-60-31160

TUBE

4

07044-12412

PLUG

5

07002-12434

O-RING

6

02781-00628

UNION

7

02896-11018

O-RING

8

07002-12434

O-RING

9

02782-10628

ELBOW

10

02896-11018

O-RING

11

07002-12434

O-RING

12

02782-10315

ELBOW

13

02896-11009

O-RING

14

07002-12034

O-RING

15

02782-10311

ELBOW

16

02896-11009

O-RING

17

07002-11423

O-RING

18

207-60-71183

ELEMENT

19

20Y-60-31140

STRAINER

20

20Y-60-31450

VALVE A.

21

20Y-60-21240

SPRING

22

207-60-77131

COVER

23

07000-15195

O-RING

24

01010-81225

BOLT

25

01643-31232

WASHER

|$26

20Y-60-31171

STRAINER ASS'Y

26

207-60-61150

ROD ASS'Y

27

20Y-60-21320

HOLDER

28

12R-60-11230

SPRING

29

22B-60-11160

STRAINER

30

20Y-60-42143

COVER

31

07000-15160

O-RING

32

01010-81225

BOLT

33

01643-31232

WASHER

34

208-60-41210

CAP A.

|$36

207-60-21220

CAP A.

35

20Y-60-42210

FILLER,NECK

36

20Y-60-21340

GASKET

37

01252-70516

SCREW

38

01601-20513

WASHER

Выбрано товаров: 40