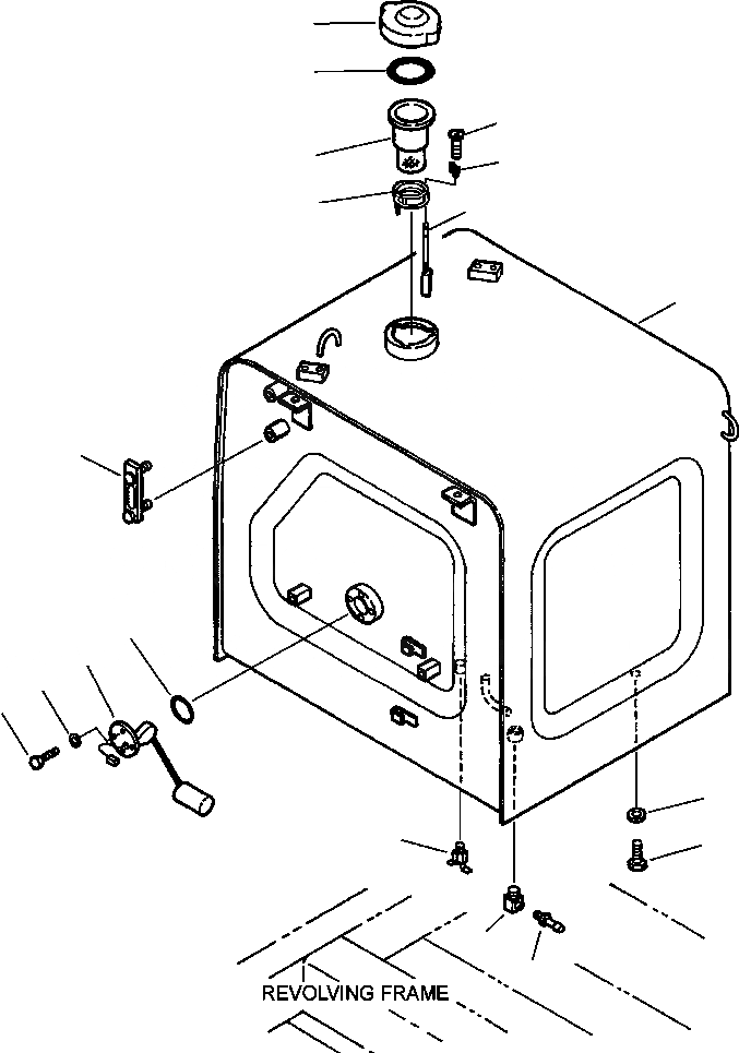
Запчасти Komatsu PC270LC-6LE FIG NO. D-A ТОПЛИВН. БАК. ТОПЛИВН. БАК. AND КОМПОНЕНТЫ

Схема запчастей Komatsu PC270LC-6LE - FIG NO. D-A ТОПЛИВН. БАК. ТОПЛИВН. БАК. AND КОМПОНЕНТЫ
4
5
18
9
17
15
16
1
2
6
14
8
7
13
3
12
10
11
FIT
1:1
100%

Артикул

Название

Примечание

Количество

1

20Y-04-21430

TANK - S/N A83001-A85000

1

20Y-04-21431

TANK - S/N A85001-UP

2

20Y-04-21220

GAUGE - S/N A83001-A85000

3

07700-50240

VALVE

4

20Y-04-11160

CAP

5

20Y-04-11240

PACKING

6

07000-13050

O-RING

7

01010-80612

BOLT

8

01643-30623

WASHER

9

205-04-71140

STRAINER - S/N A83001-A85000

9

205-04-71141

STRAINER - S/N A85001 AND UP

10

209-04-13130

ELBOW

11

140-99-99360

NIPPLE

12

01010-81635

BOLT

13

01643-31645

WASHER

14

7861-92-5810

SENSOR

|$16

20Y-04-21550

FLOAT ASSEMBLY - S/N A85001 AND UP

15

20Y-04-21560

GUIDE

16

20Y-04-21570

FLOAT

17

20Y-04-21580

CAP

18

NSS

SCREW

N/I

195-03-11570

SHIM PLATE

Выбрано товаров: 0