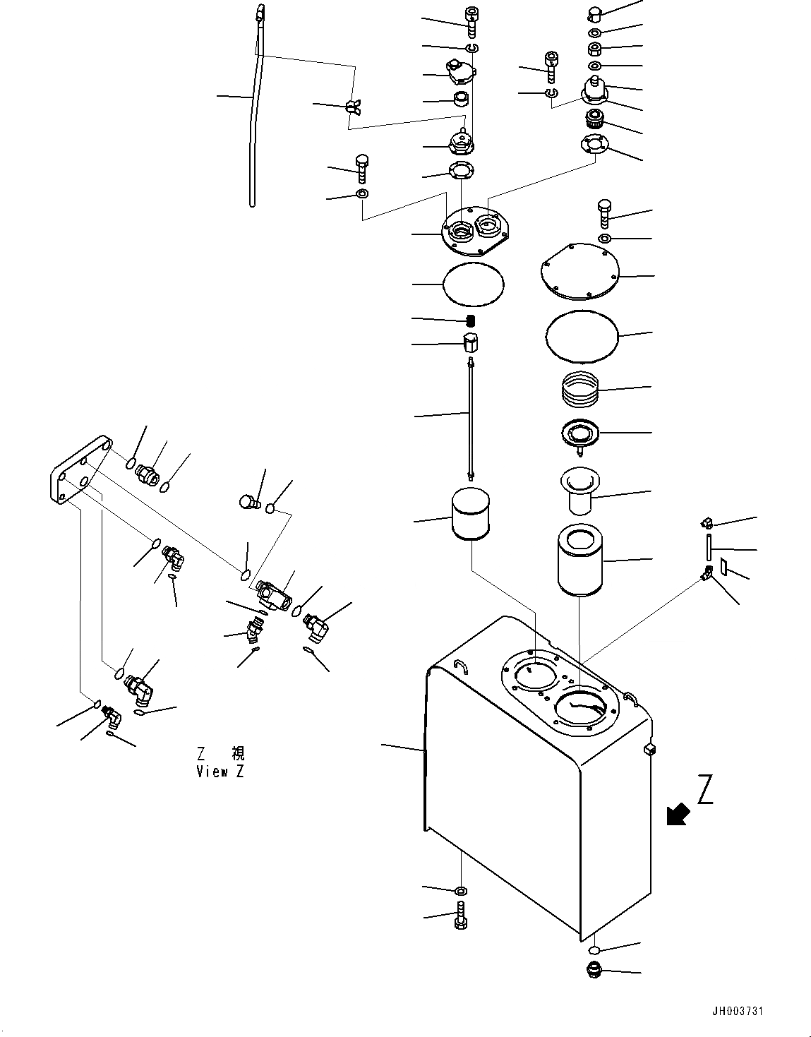
Запчасти Komatsu PC270LC-8 ГИДР. БАК. (№7-) ГИДР. БАК., С СТРЕЛА ANTI-DROP КЛАПАН

Схема запчастей Komatsu PC270LC-8 - ГИДР. БАК. (№7-) ГИДР. БАК., С СТРЕЛА ANTI-DROP КЛАПАН
40
42
43
45
51
48
44
49
46
47
50
61
41
39
38
37
36
35
34
33
32
31
30
29
28
3
2
2
63
62
5
4
1
18
20
22
21
23
25
24
19
14
13
12
17
16
15
10
7
8
6
11
9
26
27
59
60
57
58
52
54
55
53
56
53
FIT
1:1
100%

Артикул

Название

Примечание

Количество

1

20Y-60-41113

Tank

2

203-60-31100

Elbow Assembly

3

203-60-31160

Tube

4

07044-12412

Plug

5

07002-12434

O-ring

6

02781-00628

Union

7

02896-11018

O-ring

8

07002-12434

O-ring

9

02782-10522

Elbow

10

02896-11015

O-ring

11

07002-12434

O-ring

12

02782-10315

Elbow

13

02896-11009

O-ring

14

07002-12034

O-ring

15

02782-10311

Elbow

16

02896-11009

O-ring

17

07002-11423

O-ring

18

20Y-62-15660

Adapter

19

07002-12034

O-ring

20

02782-10516

Elbow

21

02896-11015

O-ring

22

07002-12034

O-ring

23

02783-10315

Elbow

24

02896-11009

O-ring

25

07002-12034

O-ring

26

07040-12012

Plug

27

07002-12034

O-ring

28

207-60-71182

Element, Hydraulic Oil Filter

29

20Y-60-31140

Strainer

30

20Y-60-31131

Valve Assembly

31

20Y-60-21240

Spring

32

22U-60-21232

Cover

33

07000-15195

O-ring

34

01010-81230

Bolt

35

01643-31232

Washer

|$35

20Y-60-31171

Strainer Assembly

36

207-60-61150

Rod Assembly

37

20Y-60-21320

Holder

38

12R-60-11230

Spring

39

22B-60-11160

Strainer

40

20Y-60-41212

Cover

41

07000-15160

O-ring

42

01010-81230

Bolt

43

01643-31232

Washer

44

17A-60-11310

Cap Assembly

45

20Y-60-21470

Element

46

208-60-71180

Filler Neck

47

20Y-60-21340

Gasket

48

01252-70516

Bolt

49

01601-20513

Washer

50

07285-00155

Clip

51

206-60-41240

Tube

|$52

20Y-60-31271

Breather Assembly

52

207-60-51311

Element

53

207-60-51320

Seal

54

Body

55

Cover

56

Nut

57

Nut

58

Packing

59

01252-70516

Bolt

60

01601-20513

Washer

61

205-00-73360

Plate, Operating

62

01010-81635

Bolt

63

01643-31645

Washer

Выбрано товаров: 65