Качественные детали и логистика
Оригинальные и аналоговые запчасти с доставкой по России, Казахстану и Беларуси
©2022 PartSell ООО "Система" ИНН 2463123282 ОГРН 1212400004838
Центральный офис: г. Красноярск, Академика Киренского, д.87, пом.4
Телефон: 8 (800) 777-65-74 Email: zakaz@partsell.ru
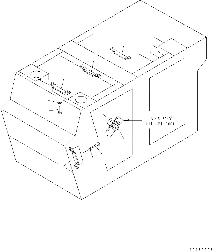
ОСНОВН. КОНСТРУКЦИЯ (RISER С КРЕПЛЕНИЕS) (8/ INCH RISER)
№
Артикул
Название
Примечание
Количество
1
20Y-62-27770
CLAMP
2
01010-81016
BOLT
3
01643-31032
WASHER
4
207-62-A2330
BRACKET,HOSE
5
07289-00105
Выбрано товаров: 0