Запчасти Komatsu PC27MR-2-B КАБИНА (КОНТРОЛЬ ХОДА) КАБИНА ОПЕРАТОРА И СИСТЕМА УПРАВЛЕНИЯ

Схема запчастей Komatsu PC27MR-2-B - КАБИНА (КОНТРОЛЬ ХОДА) КАБИНА ОПЕРАТОРА И СИСТЕМА УПРАВЛЕНИЯ
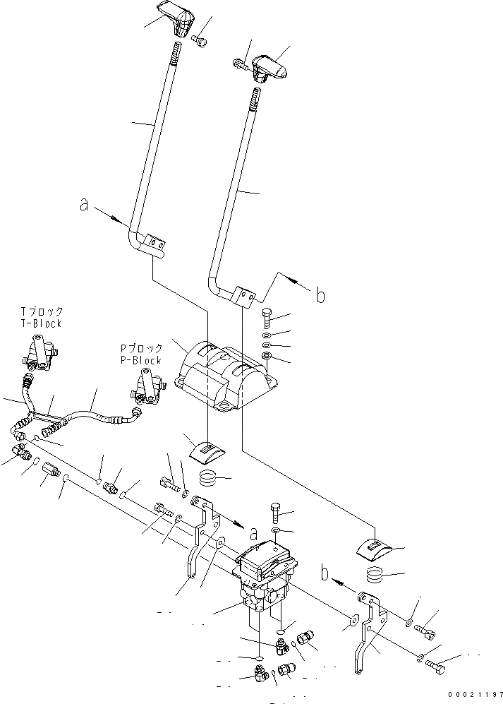
1
2
3
4
5
6
7
8
8
9
9
10
11
12
12
13
14
15
16
17
18
19
20
21
21
22
23
23
24
24
25
25
26
26
27
27
28
28
29
29
30
30
31
31
32
33
34
35
35
FIT
1:1
100%

Артикул

Название

Примечание

Количество

1

20Y-43-21151

COVER

2

20Y-43-21260

COLLAR

3

01010-D1025

BOLT

4

01643-71032

WASHER

5

203-54-56970

WASHER

6

22M-43-21391

LEVER,L.H.

7

22M-43-21381

LEVER,R.H.

8

01252-81025

BOLT

9

01643-71032

WASHER

10

20Y-43-21231

KNOB,L.H.

11

20Y-43-21241

KNOB,R.H.

12

01023-20416

SCREW

13

702-16-01950

PILOT VALVE,(SEE FIG.Y1670-01A0)

14

01010-D1025

BOLT

15

01643-71032

WASHER

16

11Y-62-12140

NIPPLE

17

07000-12011

O-RING

18

02896-11008

O-RING

19

21W-62-43970

ELBOW

20

20T-910-8660

NIPPLE

21

07000-12011

O-RING

22

02896-11008

O-RING

23

21K-62-73110

ELBOW

24

02896-11008

O-RING

25

07000-12011

O-RING

26

22M-43-22111

PLATE

27

20Y-43-21260

COLLAR

28

203-43-51620

SPRING

29

20Y-43-21140

COVER

30

01010-81030

BOLT

31

01643-31032

WASHER

32

22M-62-23160

HOSE,BLUE¤ WHITE

|32

21U-62-34750

BAND¤ BLUE

|32

21U-62-34770

BAND¤ WHITE

33

22M-62-23170

HOSE,GREEN¤ RED

|33

21U-62-34730

BAND¤ GREEN

|33

21U-62-34760

BAND¤ RED

34

08034-20519

BAND

35

22M-62-23330

JOINT

Выбрано товаров: 39