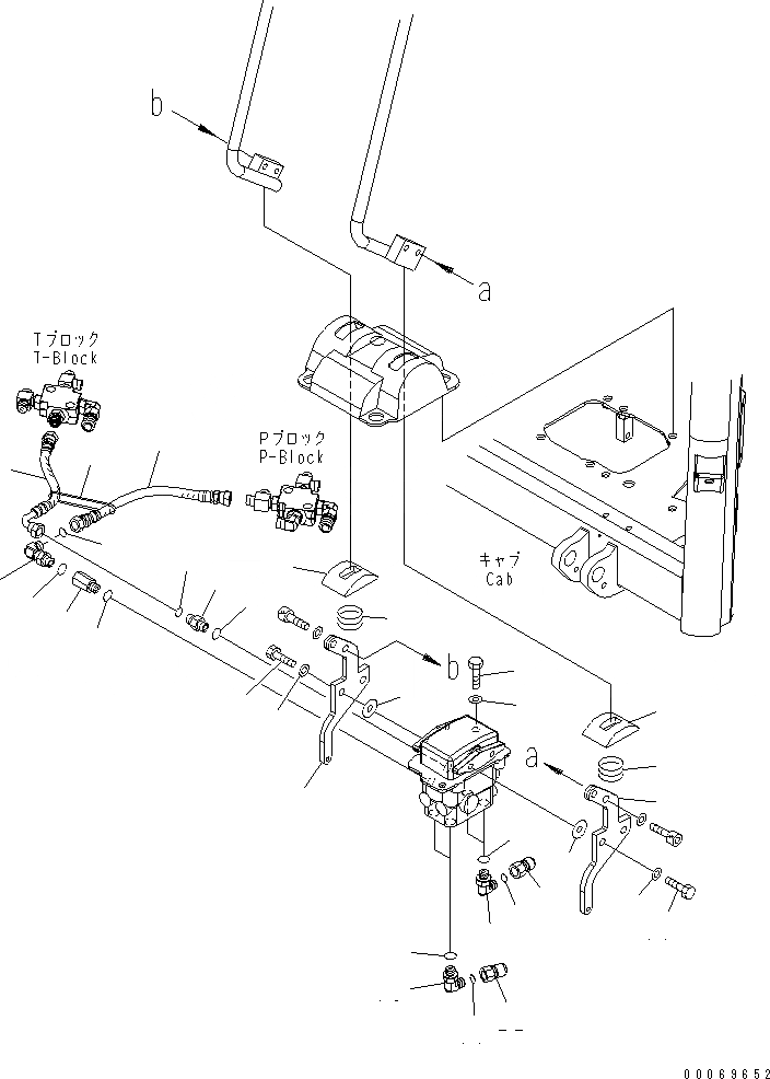
Запчасти Komatsu PC27MR-3 КАБИНА (КОНТРОЛЬ ХОДА ТРУБЫ)(№-) КАБИНА ОПЕРАТОРА И СИСТЕМА УПРАВЛЕНИЯ

Схема запчастей Komatsu PC27MR-3 - КАБИНА (КОНТРОЛЬ ХОДА ТРУБЫ)(№-) КАБИНА ОПЕРАТОРА И СИСТЕМА УПРАВЛЕНИЯ
1
2
3
4
5
6
7
8
8
9
10
10
11
11
12
12
13
13
14
14
15
15
16
16
17
17
18
18
19
20
21
22
22
FIT
1:1
100%

Артикул

Название

Примечание

Количество

1

01010-81025

BOLT

2

01643-31032

WASHER

3

11Y-62-12140

NIPPLE

4

07000-12011

O-RING

5

02896-11008

O-RING

6

21W-62-43970

ELBOW

7

20T-910-8660

NIPPLE

8

07000-12011

O-RING

9

02896-11008

O-RING

10

21K-62-73110

ELBOW

11

02896-11008

O-RING

12

07000-12011

O-RING

13

22J-43-26120

PLATE

13

22M-43-22111

PLATE

14

20Y-43-21260

COLLAR

15

203-43-51620

SPRING

16

20Y-43-21140

COVER

17

01010-81030

BOLT

18

01643-31032

WASHER

19

22F-62-33410

HOSE,GREEN, RED

20

22M-62-23160

HOSE,BLUE, WHITE

21

08034-20519

BAND

22

22M-62-23330

JOINT

Выбрано товаров: 0