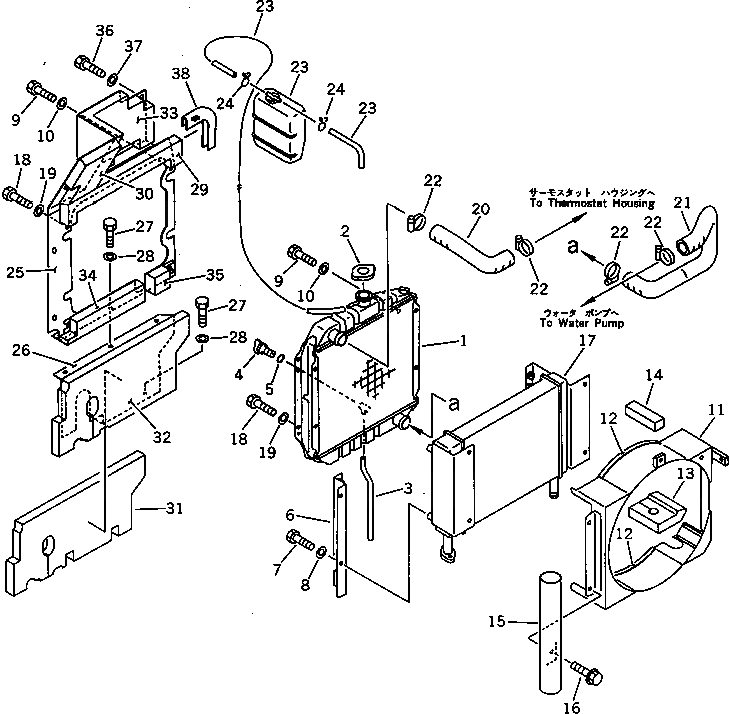
Запчасти Komatsu PC28UG-2 РАДИАТОР¤ МАСЛООХЛАДИТЕЛЬ И ТРУБЫ(№7-898) СИСТЕМА ОХЛАЖДЕНИЯ

Схема запчастей Komatsu PC28UG-2 - РАДИАТОР¤ МАСЛООХЛАДИТЕЛЬ И ТРУБЫ(№7-898) СИСТЕМА ОХЛАЖДЕНИЯ
FIT
1:1
100%

Артикул

Название

Примечание

Количество

1

21U-03-21310

RADIATOR CORE ASS'Y

2

201-03-51310

CAP

3

07270-00830

TUBE

4

205-03-62660

PLUG

5

07000-01007

O-RING

6

21U-03-21380

BRACKET

7

01010-50816

BOLT

8

01643-30823

WASHER

9

01010-50816

BOLT

10

01643-30823

WASHER

11

21U-03-21320

SHROUD

12

21U-03-21410

SEAL

13

21U-03-21331

SHEET

14

21U-03-21341

SHEET

15

21U-03-21390

PIPE

16

01435-00816

BOLT

17

21U-62-22611

OIL COOLER

18

01010-50820

BOLT

19

01643-30823

WASHER

20

21U-03-21110

HOSE

21

21U-03-21120

HOSE

22

07280-03826

CLAMP

23

20T-03-71411

TANK

24

20T-03-71450

CLAMP

25

21U-03-21210

COVER

26

21U-03-21280

COVER

27

01010-51025

BOLT

28

01643-31032

WASHER

29

21U-03-21221

SHEET

30

21U-03-21420

SHEET

31

21U-03-21231

SHEET

32

21U-03-21241

SHEET

33

21U-03-21260

SHEET

34

21U-03-21270

SHEET

35

21U-03-21290

SHEET

36

01010-51025

BOLT

37

01643-31032

WASHER

38

21U-03-21370

GARNISH

Выбрано товаров: 38