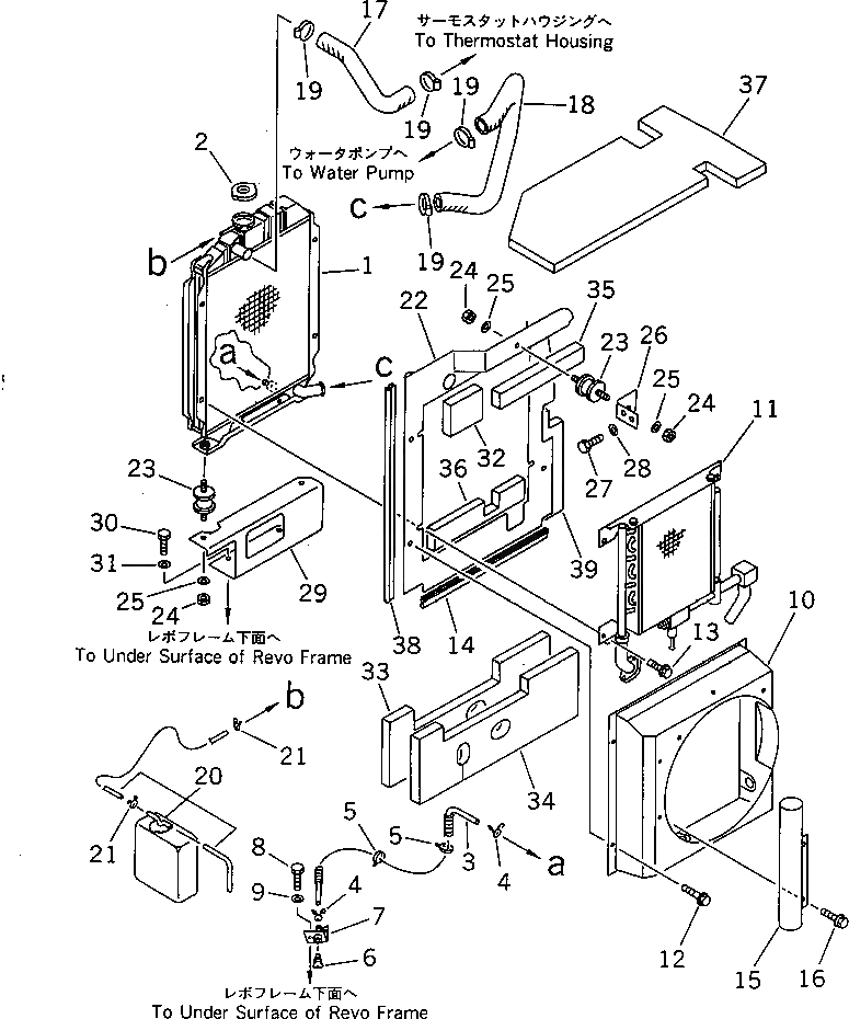
Запчасти Komatsu PC28UG-2 РАДИАТОР¤ МАСЛООХЛАДИТЕЛЬ И ТРУБЫ(№898-8) СИСТЕМА ОХЛАЖДЕНИЯ

Схема запчастей Komatsu PC28UG-2 - РАДИАТОР¤ МАСЛООХЛАДИТЕЛЬ И ТРУБЫ(№898-8) СИСТЕМА ОХЛАЖДЕНИЯ
FIT
1:1
100%

Артикул

Название

Примечание

Количество

1

21X-03-21112

RADIATOR CORE ASS'Y

2

201-03-51310

CAP

3

21X-03-21390

HOSE ASS'Y

4

206-03-43340

CLIP

5

08034-00519

BAND

6

21U-03-21160

COCK

7

21U-03-21150

BOSS

8

01010-51020

BOLT

9

01643-31032

WASHER

10

21U-03-21321

SHROUD

11

21U-62-22602

OIL COOLER

12

01435-20814

BOLT

13

01435-20820

BOLT

14

21U-03-21411

SEAL

15

21U-03-21391

PIPE

16

01435-00814

BOLT

17

21X-03-21151

HOSE

18

21X-03-21161

HOSE

19

07280-03826

CLAMP

20

20T-03-71411

TANK

21

20T-03-71450

CLAMP

22

21U-03-21213

COVER

23

203-03-56330

CUSHION

24

01580-11008

NUT

25

01643-31032

WASHER

26

21U-03-21551

BRACKET

27

01010-51025

BOLT

28

01643-31032

WASHER

29

21U-03-21282

COVER

30

01010-51025

BOLT

31

01643-31032

WASHER

32

21U-03-21422

SHEET

33

21U-03-21232

SHEET

34

21U-03-21242

SHEET

35

21U-03-21261

SHEET

36

21U-03-21292

SHEET

37

20C-54-21430

SHEET

38

21X-03-21350

SEAL

39

21U-03-21480

SHEET

Выбрано товаров: 39