Запчасти Komatsu PC28UG-2 ЦИЛИНДР СТРЕЛЫ(ВНУТР. ЧАСТИ) ОСНОВН. КОМПОНЕНТЫ И РЕМКОМПЛЕКТЫ

Схема запчастей Komatsu PC28UG-2 - ЦИЛИНДР СТРЕЛЫ(ВНУТР. ЧАСТИ) ОСНОВН. КОМПОНЕНТЫ И РЕМКОМПЛЕКТЫ
FIT
1:1
100%

Артикул

Название

Примечание

Количество

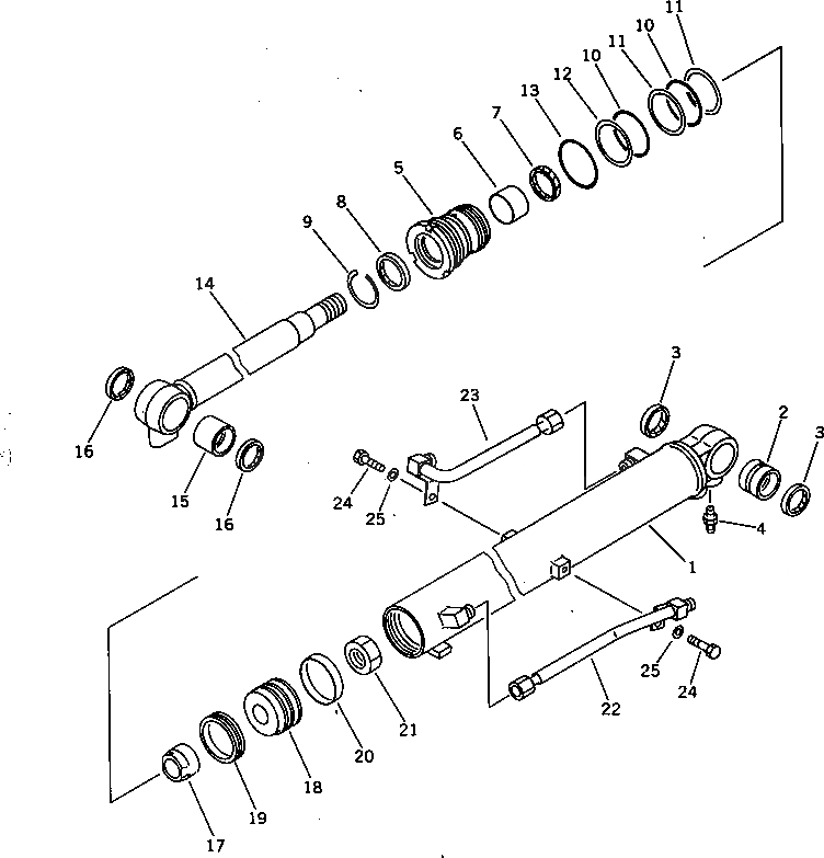
G-1

20P-63-X2101

CYLINDER GROUP,BOOM (UG)

|1

20P-63-02101

CYLINDER ASS'Y,BOOM (UG)

1

20P-63-57141

CYLINDER

2

07144-10404

BUSHING

3

07145-00040

SEAL,DUST (KIT)

4

07020-00000

FITTING,GREASE

5

707-29-75050

HEAD,CYLINDER

6

07177-04530

BUSHING

7

707-51-45210

PACKING,ROD (KIT)

8

112-63-15370

SEAL,DUST (KIT)

9

07179-12057

RING,SNAP

10

07000-12070

O-RING (KIT)

11

707-35-52760

RING,BACK-UP (KIT)

12

707-35-52740

RING,BACK-UP (KIT)

13

07000-02075

O-RING (KIT)

14

20P-63-57121

ROD,PISTON

15

07143-10404

BUSHING

16

07145-00040

SEAL,DUST (KIT)

17

707-71-60450

PLUNGER

18

707-36-75370

PISTON

19

707-44-75180

RING,PISTON (KIT)

20

707-39-75190

RING,WEAR (KIT)

21

01580-03024

NUT

22

21U-62-14270

TUBE

23

21U-62-14260

TUBE

24

01010-51020

BOLT

25

01643-31032

WASHER

Выбрано товаров: 27