Запчасти Komatsu PC28UG-2 ЦИЛИНДР КОВША (ВНУТР. ЧАСТИ) ОСНОВН. КОМПОНЕНТЫ И РЕМКОМПЛЕКТЫ

Схема запчастей Komatsu PC28UG-2 - ЦИЛИНДР КОВША (ВНУТР. ЧАСТИ) ОСНОВН. КОМПОНЕНТЫ И РЕМКОМПЛЕКТЫ
FIT
1:1
100%

Артикул

Название

Примечание

Количество

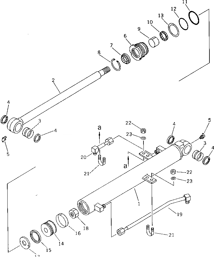
G-1

21U-63-X2031

BUCKET CYLINDER G.,BUCKET (UG)

|1

21U-63-02031

CYLINDER ASS'Y,BUCKET (UG)

1

21U-63-76141

CYLINDER

2

21U-63-76120

ROD

3

07144-10304

BUSHING

4

07145-00035

SEAL,DUST (KIT)

5

07020-00900

FITTING,GREASE

6

707-29-70920

HEAD,CYLINDER

7

175-63-75190

SEAL,DUST (KIT)

8

07179-00054

RING,SNAP

9

07177-03525

BUSHING

10

707-51-35210

PACKING,ROD (KIT)

11

07000-02070

O-RING (KIT)

12

07000-12065

O-RING (KIT)

13

07001-02065

RING,BACK-UP (KIT)

14

707-36-70940

PISTON

15

707-44-70070

RING,PISTON (KIT)

16

07156-00710

RING,WEAR (KIT)

17

10E-63-66280

RETAINER

18

01580-02722

NUT

19

21U-63-76170

TUBE

20

21U-63-76180

TUBE

21

07283-21529

CLIP

22

01598-00809

NUT

23

01643-30823

WASHER

Выбрано товаров: 25