Качественные детали и логистика
Оригинальные и аналоговые запчасти с доставкой по России, Казахстану и Беларуси
©2022 PartSell ООО "Система" ИНН 2463123282 ОГРН 1212400004838
Центральный офис: г. Красноярск, Академика Киренского, д.87, пом.4
Телефон: 8 (800) 777-65-74 Email: zakaz@partsell.ru
P.P.C. ЛИНИЯ (/)
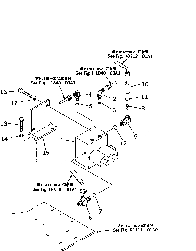
№
Артикул
Название
Примечание
Количество
1
20U-60-22230
SOLENOID VALVE ASS'Y,(SEE FIG.Y1681-01A1)
2
07235-10210
ELBOW
3
07002-01423
O-RING
4
21U-62-24110
5
07002-11423
6
21U-62-24120
TEE
7
8
20T-62-71910
STRAINER
9
20C-62-24130
10
20T-62-71930
UNION
11
07002-01823
12
13
01010-51025
BOLT
14
01643-31032
WASHER
15
21U-62-26210
PLATE
16
01010-51020
17
Выбрано товаров: 0