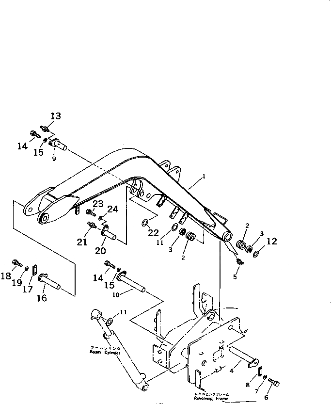
Запчасти Komatsu PC28UG-2 СТРЕЛА (/) РАБОЧЕЕ ОБОРУДОВАНИЕ

Схема запчастей Komatsu PC28UG-2 - СТРЕЛА (/) РАБОЧЕЕ ОБОРУДОВАНИЕ
FIT
1:1
100%

Артикул

Название

Примечание

Количество

|1

21U-942-2100

BOOM ASS'Y

1

BOOM

2

20C-70-11140

BUSHING

3

07145-00040

SEAL,DUST

4

21U-70-21140

PIN

5

07020-00675

FITTING,GREASE

6

01010-51225

BOLT

7

01643-31232

WASHER

8

20R-70-11250

PLATE

9

21U-70-11170

PIN

10

21U-70-21130

PIN

11

21U-70-11740

SPACER¤ 1.0MM

12

21U-70-21170

SPACER¤ 1.0MM

13

07020-00000

FITTING,GREASE

14

01010-51225

BOLT

15

01643-31232

WASHER

16

20S-70-21221

PIN

17

20R-70-11250

PLATE

18

01010-51225

BOLT

19

01643-31232

WASHER

20

20R-70-11171

PIN

21

07020-00000

FITTING,GREASE

22

21U-70-11740

SPACER¤ 1.0MM

23

01010-51225

BOLT

24

01643-31232

WASHER

Выбрано товаров: 25