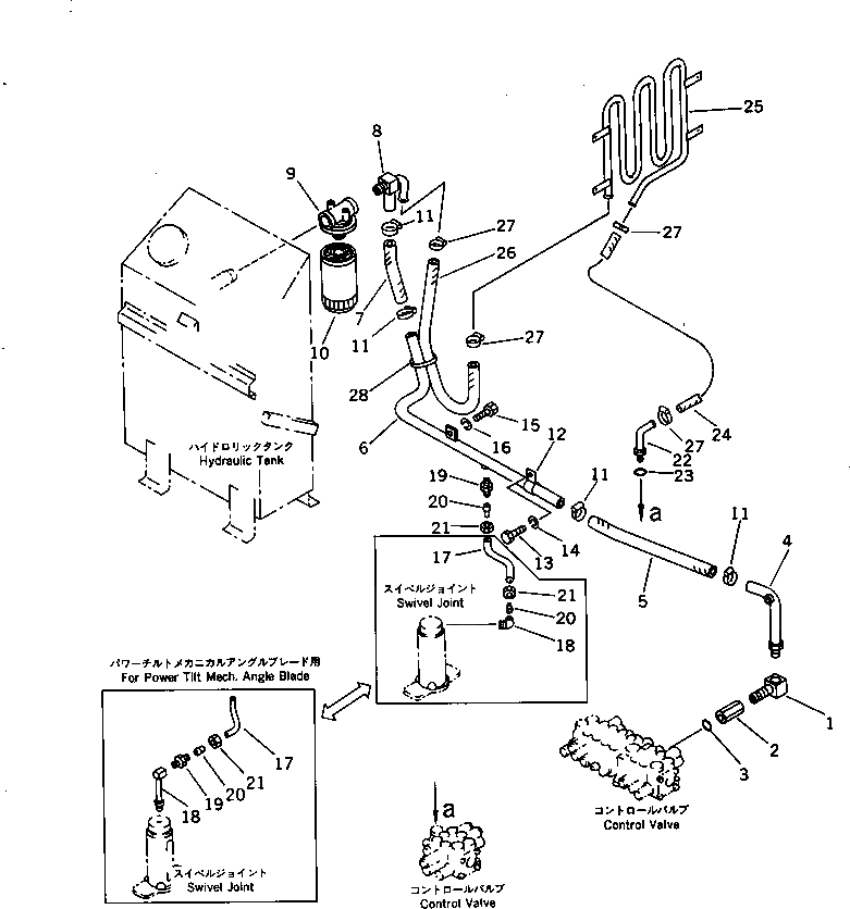
Запчасти Komatsu PC28UU-1 ГИДРОЛИНИЯ (МАСЛООХЛАДИТЕЛЬ И ВОЗВРАТ. ЛИНИЯ) УПРАВЛ-Е РАБОЧИМ ОБОРУДОВАНИЕМ

Схема запчастей Komatsu PC28UU-1 - ГИДРОЛИНИЯ (МАСЛООХЛАДИТЕЛЬ И ВОЗВРАТ. ЛИНИЯ) УПРАВЛ-Е РАБОЧИМ ОБОРУДОВАНИЕМ
FIT
1:1
100%

Артикул

Название

Примечание

Количество

1

21U-62-12330

ELBOW

2

203-62-41170

NUT

3

07002-12034

O-RING

4

21U-62-12340

TUBE

5

07260-22636

HOSE

6

21U-62-12351

TUBE

7

07260-22613

HOSE

8

21U-62-12375

TUBE

8

21U-62-12371

TUBE

|$9

21U-60-11300

FILTER ASS'Y

9

21U-60-11310

HEAD

10

21U-60-11320

CARTRIDGE

11

07281-00419

CLAMP

12

111-86-27885

CLAMP

13

01010-50820

BOLT

14

01602-20825

WASHER,SPRING

15

01010-51020

BOLT

16

01602-21030

WASHER,SPRING

17

07822-00404

TUBE

18

07834-00413

ELBOW

18

20N-62-47770

ELBOW,(POWER TILT MECH.ANGLE BLADE)

19

07836-00413

CONNECTOR

19

07836-00413

CONNECTOR,(POWER TILT MECH.ANGLE BLADE)

20

07831-00411

SLEEVE

21

07832-00410

NUT

22

21U-62-12325

ELBOW

22

21U-62-12321

ELBOW

22

21U-62-12730

ELBOW,(POWER TILT MECH.ANGLE BLADE)

23

07002-12034

O-RING

23

07002-11823

O-RING,(POWER TILT MECH.ANGLE BLADE)

24

07261-21415

HOSE

24

07261-21413

HOSE

25

21U-62-12585

TUBE,OIL COOLER

25

21U-62-12580

TUBE,OIL COOLER

26

07260-21450

HOSE

27

07281-00259

CLAMP

28

08034-00536

BAND

Выбрано товаров: 37