Запчасти Komatsu PC28UU-1 КОМПОНЕНТЫ ДВИГАТЕЛЯ КОМПОНЕНТЫ ДВИГАТЕЛЯ И ЭЛЕКТРИКА

Схема запчастей Komatsu PC28UU-1 - КОМПОНЕНТЫ ДВИГАТЕЛЯ КОМПОНЕНТЫ ДВИГАТЕЛЯ И ЭЛЕКТРИКА
FIT
1:1
100%

Артикул

Название

Примечание

Количество

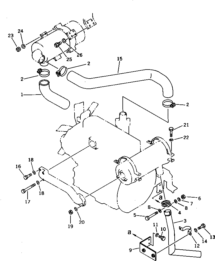
1

21U-01-11180

HOSE

2

YM23000-060000

CLAMP

3

21U-01-11110

PIPE,EXHAUST

4

YM121120-13580

CLAMP

5

01010-51065

BOLT

6

01580-11008

NUT

7

01602-21030

WASHER,SPRING

8

01643-31032

WASHER

9

20P-01-11130

BRACKET

10

01010-51025

BOLT

11

01602-21030

WASHER,SPRING

12

07282-14311

CLAMP

13

01010-51025

BOLT

14

01602-21030

WASHER,SPRING

15

21U-01-11190

HOSE

16

01010-50825

BOLT

17

01010-50865

BOLT

18

01602-20825

WASHER,SPRING

19

01580-11008

NUT

20

01602-21030

WASHER,SPRING

21

01010-50830

BOLT

22

01602-20825

WASHER,SPRING

23

01580-10605

NUT

24

01602-20619

WASHER,SPRING

25

01010-50820

BOLT

26

01602-20825

WASHER,SPRING

Выбрано товаров: 0