Запчасти Komatsu PC28UU-1 ГУСЕНИЦЫ (ДВОЙН. ГРУНТОЗАЦЕП С ОТВЕРСТИЯМИ) ХОДОВАЯ

Схема запчастей Komatsu PC28UU-1 - ГУСЕНИЦЫ (ДВОЙН. ГРУНТОЗАЦЕП С ОТВЕРСТИЯМИ) ХОДОВАЯ
FIT
1:1
100%

Артикул

Название

Примечание

Количество

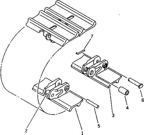
|$1

20P-32-00100

TRACK SHOE ASS'Y

1

20N-32-32100

SHOE ASS'Y,REGULAR

2

20S-32-11210

BUSHING

3

20N-32-32200

SHOE ASS'Y,MASTER

4

20S-32-11210

BUSHING

5

FF8732-32150

PIN,REGULAR

6

20N-32-21190

PIN,MASTER

7

FF8732-32350

PIN,LOCK

1

20P-32-00060

TRACK SHOE ASS'Y

1

20P-32-12100

SHOE ASS'Y,REGULAR

2

20N-32-21210

BUSHING

3

20P-32-12200

SHOE ASS'Y,MASTER

4

20N-32-21210

BUSHING

5

FF8732-32150

PIN,REGULAR

6

20N-32-21190

PIN,MASTER

7

FF8732-32350

PIN,LOCK

Выбрано товаров: 16