Запчасти Komatsu PC28UU-1 РЫЧАГ УПРАВЛ-Я ПОДАЧЕЙ ТОПЛИВА И МЕХАНИЗМ(№-) СИСТЕМА УПРАВЛЕНИЯ И ОСНОВНАЯ РАМА

Схема запчастей Komatsu PC28UU-1 - РЫЧАГ УПРАВЛ-Я ПОДАЧЕЙ ТОПЛИВА И МЕХАНИЗМ(№-) СИСТЕМА УПРАВЛЕНИЯ И ОСНОВНАЯ РАМА
FIT
1:1
100%

Артикул

Название

Примечание

Количество

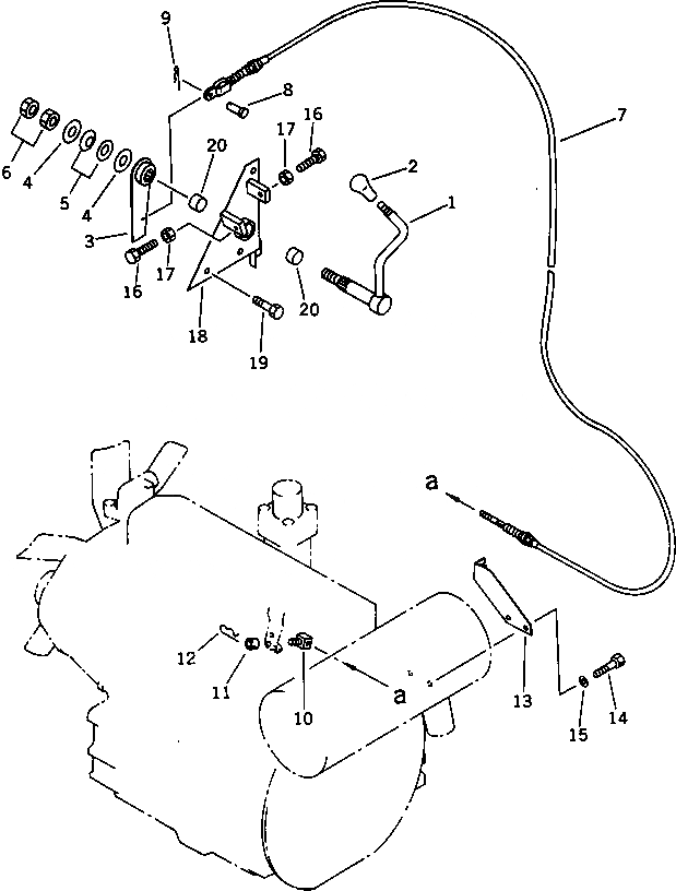
1

21U-43-14110

LEVER

2

113-43-23420

KNOB

3

21U-43-14125

LEVER

4

FF8733-44530

WASHER

5

101-854-9355

SPRING

6

01583-11610

NUT

7

21U-43-14130

CABLE

8

04205-10616

PIN

9

04052-00633

PIN,SNAP

10

20N-43-44141

HOLDER

11

20N-43-44150

STOPPER

12

04052-01253

PIN,SNAP

13

20P-43-14130

BRACKET

14

01010-50816

BOLT

15

01643-30823

WASHER

16

01016-50830

BOLT

17

01580-10806

NUT

18

21U-43-14215

BRACKET

19

01435-01016

BOLT

20

09350-02020

BUSHING

Выбрано товаров: 0