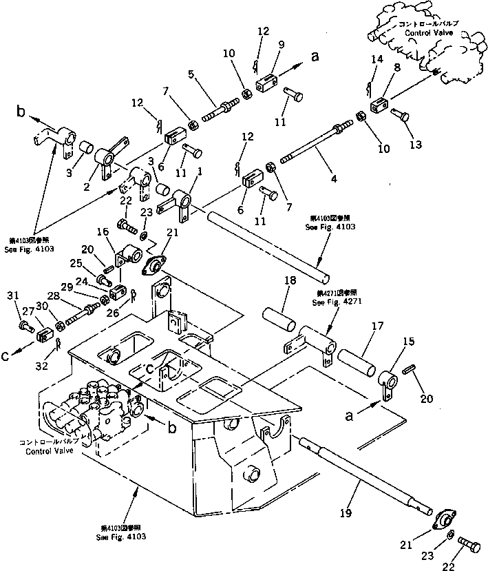
Запчасти Komatsu PC28UU-1 ПОВОРОТН. И РУКОЯТЬ МЕХ-М УПРАВЛ-Я (ДЛЯ НАКЛОНЯЕМ. МЕХАНИЧ. ANGLEОТВАЛ)(№-) СИСТЕМА УПРАВЛЕНИЯ И ОСНОВНАЯ РАМА

Схема запчастей Komatsu PC28UU-1 - ПОВОРОТН. И РУКОЯТЬ МЕХ-М УПРАВЛ-Я (ДЛЯ НАКЛОНЯЕМ. МЕХАНИЧ. ANGLE ОТВАЛ)(№-) СИСТЕМА УПРАВЛЕНИЯ И ОСНОВНАЯ РАМА
FIT
1:1
100%

Артикул

Название

Примечание

Количество

1

21U-43-11310

LEVER,ARM

2

21U-43-11230

LEVER,SWING

3

09350-02530

BUSHING

4

04248-31026

ROD

5

04248-31012

ROD

6

04220-21040

YOKE,L.H. THREAD

7

01508-41006

NUT,L.H. THREAD

8

20S-43-21570

YOKE

9

04210-21040

YOKE

10

01582-11008

NUT

11

04205-11026

PIN

12

04052-11038

PIN,SNAP

13

04205-10520

PIN

14

04052-10530

PIN,SNAP

15

21U-43-11240

LEVER,SWING

16

21U-43-15240

LEVER,SWING

17

20N-43-41595

COLLAR

18

21U-43-11740

COLLAR

19

21U-43-11140

SHAFT

20

04025-00640

PIN,SPRING

21

20N-43-41290

BEARING

22

01010-50820

BOLT

23

01643-30823

WASHER

24

04210-20832

YOKE

25

04205-10822

PIN

26

04052-10833

PIN,SNAP

27

20N-43-41260

YOKE,L.H. THREAD

28

20N-43-42571

ROD

29

01580-10806

NUT

30

01508-40805

NUT,L.H. THREAD

31

04205-10522

PIN

32

04052-10530

PIN,SNAP

Выбрано товаров: 0