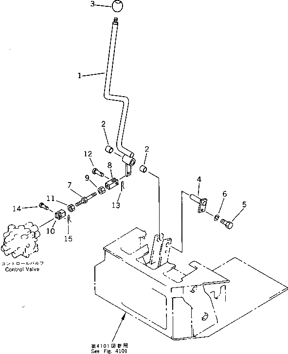
Запчасти Komatsu PC28UU-1 РЫЧАГ УПРАВЛЕНИЯ ОТВАЛОМ И МЕХАНИЗМ СИСТЕМА УПРАВЛЕНИЯ И ОСНОВНАЯ РАМА

Схема запчастей Komatsu PC28UU-1 - РЫЧАГ УПРАВЛЕНИЯ ОТВАЛОМ И МЕХАНИЗМ СИСТЕМА УПРАВЛЕНИЯ И ОСНОВНАЯ РАМА
FIT
1:1
100%

Артикул

Название

Примечание

Количество

1

21U-43-11811

LEVER

2

09350-02020

BUSHING

3

203-43-41910

KNOB

4

20N-43-41765

SHAFT

5

01010-50816

BOLT

6

01602-20825

WASHER,SPRING

7

04248-31010

ROD

8

04220-21040

YOKE,L.H. THREAD

9

01508-21006

NUT,L.H. THREAD

10

20S-43-21570

YOKE

11

01582-11008

NUT

12

04205-11026

PIN

13

04052-11038

PIN,SNAP

14

04205-10520

PIN

15

04052-10530

PIN,SNAP

Выбрано товаров: 15