Запчасти Komatsu PC28UU-1 ПОЛ КАБИНЫ (/)(№-) ЧАСТИ КОРПУСА

Схема запчастей Komatsu PC28UU-1 - ПОЛ КАБИНЫ (/)(№-) ЧАСТИ КОРПУСА
FIT
1:1
100%

Артикул

Название

Примечание

Количество

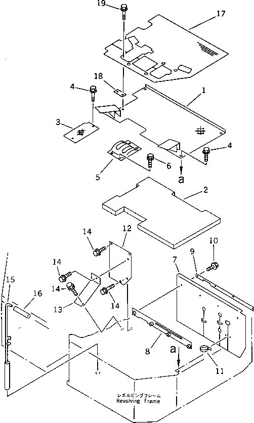
1

21U-54-11435

PLATE,FLOOR

2

21U-54-11485

SEAT

3

21U-54-11440

PLATE,FLOOR

4

01435-00816

BOLT

5

21U-54-11470

COVER

6

01435-00816

BOLT

|$6

21U-54-11900

SHEET

7

21U-54-11381

SHEET

8

21U-54-11960

PLATE

9

21U-54-11970

PLATE

10

01435-00614

BOLT

11

08034-00414

BAND

12

21U-54-11311

PLATE

13

21U-54-11331

PLATE

14

01435-00816

BOLT

15

21U-54-11521

PIN,SWING LOCK

16

21U-54-11530

CAP

17

21U-54-11461

MAT,FLOOR

18

21U-54-11490

PLATE

19

01435-00820

BOLT

Выбрано товаров: 0