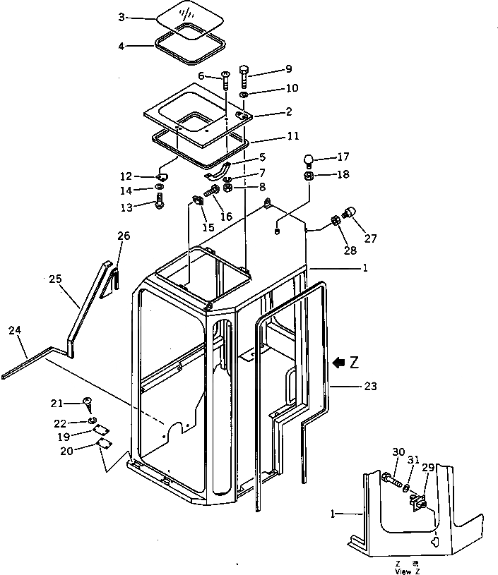
Запчасти Komatsu PC28UU-1 КАБИНА (/) (КАБИНА И ОКНО В КРЫШЕ) ЧАСТИ КОРПУСА

Схема запчастей Komatsu PC28UU-1 - КАБИНА (/) (КАБИНА И ОКНО В КРЫШЕ) ЧАСТИ КОРПУСА
FIT
1:1
100%

Артикул

Название

Примечание

Количество

|$0

21U-54-17105

OPERATOR'S CAB ASS'Y

|$1

21U-54-17100

OPERATOR'S CAB ASS'Y

1

CAB

1

CAB

2

21U-54-17235

COVER

2

21U-54-17230

COVER

3

21U-54-15230

PLATE

4

21U-54-15240

STRIP,WEATHER

5

20N-54-39980

GRIP

6

01220-40512

SCREW

7

01601-20513

WASHER,SPRING

8

01580-10504

NUT

9

01010-50816

BOLT

10

01643-30823

WASHER

11

21U-54-16680

SEAL

12

203-54-11310

HOOK

13

01220-40412

SCREW

14

01641-20405

WASHER

15

203-54-11290

CATCHER

16

01220-40412

SCREW

17

21K-54-11310

STOPPER

18

01580-11210

NUT

19

21U-54-17735

PLATE

19

21U-54-17730

PLATE

20

21U-54-17740

SHEET

21

01370-00410

SCREW

22

01601-20410

WASHER,SPRING

23

21U-54-17690

TRIM

24

09412-00063

SEAL

25

21U-54-16250

SHEET

26

21U-54-16260

SHEET

27

21K-54-11310

STOPPER

28

01580-11210

NUT

29

21W-54-14910

LOCK

30

01010-50820

BOLT

31

01643-30823

WASHER

Выбрано товаров: 36