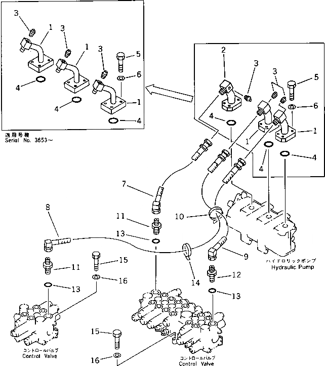
Запчасти Komatsu PC28UU-1 ГИДРОЛИНИЯ (ЛИНИЯ ПОДАЧИ) УПРАВЛ-Е РАБОЧИМ ОБОРУДОВАНИЕМ

Схема запчастей Komatsu PC28UU-1 - ГИДРОЛИНИЯ (ЛИНИЯ ПОДАЧИ) УПРАВЛ-Е РАБОЧИМ ОБОРУДОВАНИЕМ
FIT
1:1
100%

Артикул

Название

Примечание

Количество

1

20N-62-44130

TUBE

|1

20N-62-42215

TUBE

2

20P-62-12210

TUBE

3

07042-20108

PLUG

4

07000-12021

O-RING

|4

07000-13030

O-RING

5

01010-50830

BOLT

6

01643-50823

WASHER

7

21U-62-12220

HOSE

8

20P-62-12270

HOSE

9

21U-62-12230

HOSE

10

08034-00536

BAND

11

07230-10315

UNION

12

20N-62-42275

UNION

13

07002-12034

O-RING

14

08034-00536

BAND

15

01010-50830

BOLT

16

01643-50823

WASHER

Выбрано товаров: 18