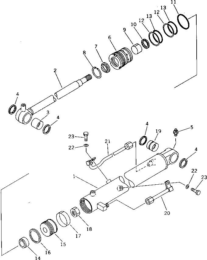
Запчасти Komatsu PC28UU-1 ЦИЛИНДР СТРЕЛЫ РАБОЧЕЕ ОБОРУДОВАНИЕ

Схема запчастей Komatsu PC28UU-1 - ЦИЛИНДР СТРЕЛЫ РАБОЧЕЕ ОБОРУДОВАНИЕ
FIT
1:1
100%

Артикул

Название

Примечание

Количество

|1

21U-63-02011

CYLINDER ASS'Y

1

21U-63-56141

CYLINDER

2

21U-63-56121

ROD

3

07143-10404

BUSHING

4

07145-00040

SEAL,DUST

5

07020-00900

FITTING,GREASE

6

707-29-80261

HEAD,CYLINDER

7

112-63-15370

SEAL,DUST

8

07179-12057

RING,SNAP

9

07177-04530

BUSHING

10

707-51-45210

PACKING,ROD

11

07000-02080

O-RING

12

07146-02076

RING,BACK-UP

13

07000-12075

O-RING

14

707-71-50570

PLUNGER

15

707-36-80970

PISTON

16

707-44-80070

RING,PISTON

|16

07161-10080

RING,PISTON

17

07156-00810

RING,WEAR

18

01580-02722

NUT

19

07144-10404

BUSHING

20

21U-63-56171

TUBE

21

21U-63-56180

TUBE

22

01602-21030

WASHER,SPRING

23

01010-51020

BOLT

Выбрано товаров: 25