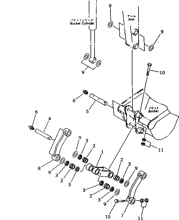
Запчасти Komatsu PC28UU-1 СОЕДИНЕНИЕ КОВША(№-) РАБОЧЕЕ ОБОРУДОВАНИЕ

Схема запчастей Komatsu PC28UU-1 - СОЕДИНЕНИЕ КОВША(№-) РАБОЧЕЕ ОБОРУДОВАНИЕ
FIT
1:1
100%

Артикул

Название

Примечание

Количество

1

21U-70-11710

LINK

2

20S-70-11270

BUSHING

3

07145-00035

SEAL,DUST

4

20R-70-11241

PIN

5

21U-70-11820

PIN

6

07020-00000

FITTING,GREASE

7

20R-70-21170

LINK,L.H.

8

20R-70-21190

LINK,R.H.

9

20N-70-41270

SPACER¤ 1.0MM

10

01010-51285

BOLT

11

01580-11210

NUT

Выбрано товаров: 11