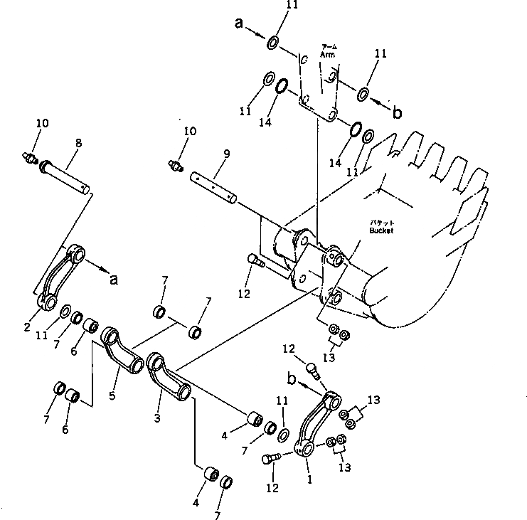
Запчасти Komatsu PC28UU-1 СОЕДИНЕНИЕ КОВША(№-) РАБОЧЕЕ ОБОРУДОВАНИЕ

Схема запчастей Komatsu PC28UU-1 - СОЕДИНЕНИЕ КОВША(№-) РАБОЧЕЕ ОБОРУДОВАНИЕ
FIT
1:1
100%

Артикул

Название

Примечание

Количество

1

20S-70-31430

LINK,L.H.

2

20S-70-31440

LINK,R.H.

|3

20R-70-00270

LINK ASS'Y,L.H.

3

LINK

4

20S-70-11270

BUSHING

|5

20R-70-00280

LINK ASS'Y,R.H.

5

LINK

6

20S-70-11270

BUSHING

7

07145-00035

SEAL

8

20R-70-11241

PIN

9

21U-70-11820

PIN

10

07020-00000

FITTING,GREASE

11

20N-70-41270

SPACER¤ 1.0MM

12

01010-51285

BOLT

13

01580-11210

NUT

14

140-30-16221

O-RING

Выбрано товаров: 16