Качественные детали и логистика
Оригинальные и аналоговые запчасти с доставкой по России, Казахстану и Беларуси
©2022 PartSell ООО "Система" ИНН 2463123282 ОГРН 1212400004838
Центральный офис: г. Красноярск, Академика Киренского, д.87, пом.4
Телефон: 8 (800) 777-65-74 Email: zakaz@partsell.ru
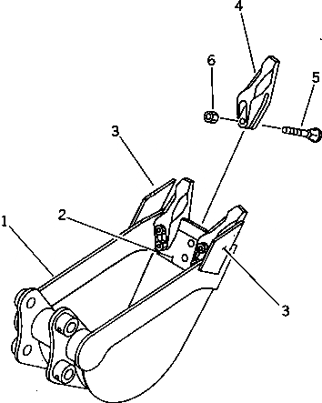
КОВШ¤ .M (MINI .M) MM
№
Артикул
Название
Примечание
Количество
|1
20R-926-0010
BUCKET ASS'Y
1
20R-926-1111
BUCKET
2
20R-926-1120
LIP (WELDED)
3
20R-70-13120
CUTTER,SIDE (WELDED)
4
10E-70-22211
TOOTH
5
02090-11055
BOLT
6
09218-11614
NUT
Выбрано товаров: 0