Запчасти Komatsu PC28UU-1 ГУСЕНИЧНАЯ РАМА(№-) ХОДОВАЯ

Схема запчастей Komatsu PC28UU-1 - ГУСЕНИЧНАЯ РАМА(№-) ХОДОВАЯ
FIT
1:1
100%

Артикул

Название

Примечание

Количество

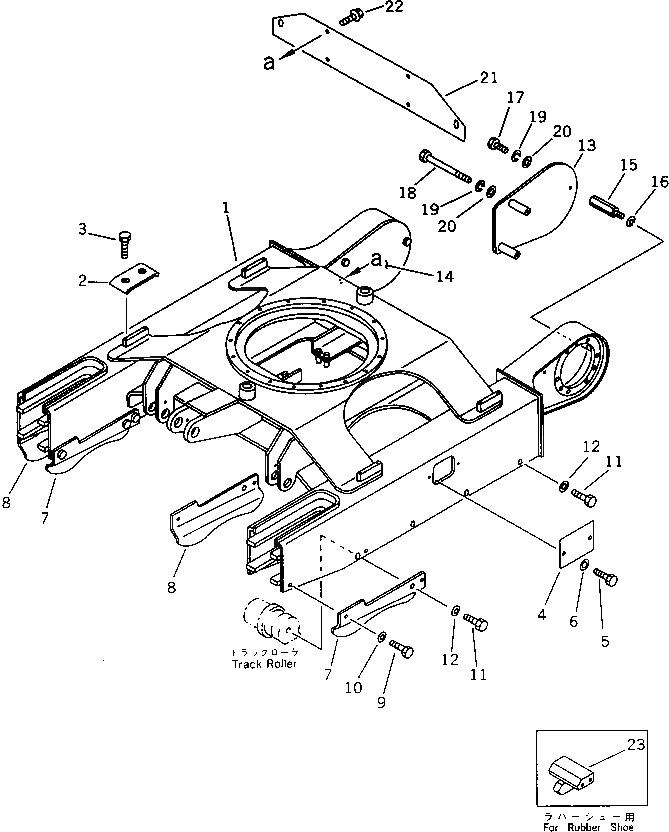
1

21U-30-11110

FRAME,TRACK

2

20R-30-11190

PLATE

3

01010-51225

BOLT

4

20N-30-41240

COVER

5

01010-51020

BOLT

6

01643-31032

WASHER

7

20N-30-41335

GUARD,OUTER¤ L.H. AND INNER¤ R.H.

8

20N-30-41325

GUARD,INNER¤ L.H. AND OUTER¤ R.H.

9

01010-51435

BOLT

|9

01010-51430

BOLT

10

01643-31445

WASHER

11

01010-51430

BOLT

12

01643-31445

WASHER

13

20N-30-41215

COVER,L.H.

14

20N-30-41225

COVER,R.H.

15

20N-30-41235

SPACER

16

01602-21236

WASHER,SPRING

17

01010-51020

BOLT

18

01010-51085

BOLT

19

01602-21030

WASHER,SPRING

20

01643-31032

WASHER

21

20P-30-11760

COVER

22

01435-00816

BOLT

23

20N-35-41621

GUIDE,(FOR RUBBER SHOE)

Выбрано товаров: 24